Запчасти Komatsu FG50A-10 SUB КРЫШКА ЧАСТИ КОРПУСА И КАБИНА ОПЕРАТОРА

Схема запчастей Komatsu FG50A-10 - SUB КРЫШКА ЧАСТИ КОРПУСА И КАБИНА ОПЕРАТОРА
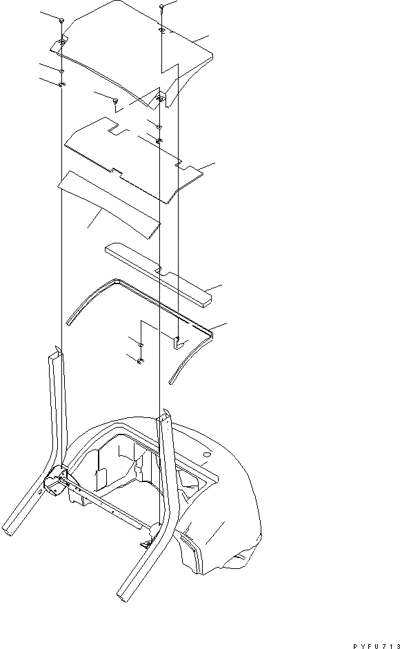
1
2
3
4
5
6
7
8
8
8
9
9
10
10
10
FIT
1:1
100%

Артикул

Название

Примечание

Количество

1

3EC-50-52110NX

COVER

SN: 133001-UP

1шт.

2

37B-1CW-3140

RUBBER

SN: 133001-UP

1шт.

3

3EC-50-52120SG

PLATE

SN: 133001-UP

1шт.

4

3EC-50-52130

KNOB

SN: 133001-UP

1шт.

5

3EC-50-52140

SPONGE

SN: 133001-UP

1шт.

6

3EC-50-52150

SPONGE

SN: 133001-UP

1шт.

7

3EC-50-52160

SPONGE

SN: 133001-UP

1шт.

8

3EC-50-31820

E-RING

SN: 133001-UP

3шт.

9

3EB-50-31420

KNOB

SN: 133001-UP

2шт.

10

01640-20816

WASHER

SN: 133001-UP

3шт.

Выбрано товаров: 10