Запчасти Komatsu FG50A-10 SUB КРЫШКА (ДЛЯ ВОЗДУХООЧИСТИТЕЛЯ С ПРЕФИЛЬТР) ЧАСТИ КОРПУСА И КАБИНА ОПЕРАТОРА

Схема запчастей Komatsu FG50A-10 - SUB КРЫШКА (ДЛЯ ВОЗДУХООЧИСТИТЕЛЯ С ПРЕФИЛЬТР) ЧАСТИ КОРПУСА И КАБИНА ОПЕРАТОРА
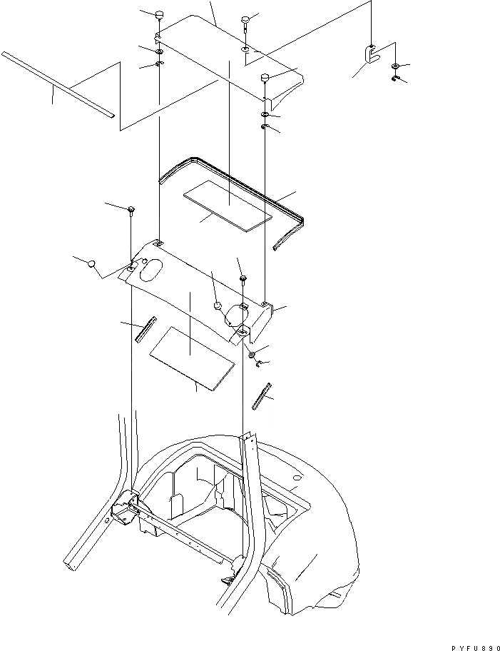
1
2
3
4
5
5
6
6
6
7
7
7
7
8
8
8
9
9
10
11
12
13
14
14
FIT
1:1
100%

Артикул

Название

Примечание

Количество

1

09415-02512

CAP

SN: 133001-UP

1шт.

2

3EC-50-56310NX

COVER,(FOR GASOLINE ENGINE)

SN: 133001-UP

1шт.

3

3EC-50-56260

SEAL

SN: 133001-UP

1шт.

4

3EC-50-56220NX

COVER

SN: 133001-UP

1шт.

5

01024-80825

BOLT

SN: 133001-UP

2шт.

6

3EB-50-31420

KNOB

SN: 133001-UP

3шт.

7

01640-20816

WASHER

SN: 133001-UP

4шт.

8

3EC-50-31820

E-RING

SN: 133001-UP

3шт.

9

37B-1CW-3050

WEATHER STRIP

SN: 133001-UP

2шт.

10

37B-1CW-3120

RUBBER

SN: 133001-UP

1шт.

11

3EC-50-52130

KNOB

SN: 133001-UP

1шт.

12

3EC-50-52120SG

PLATE

SN: 133001-UP

1шт.

13

3EC-50-31820

E-RING

SN: 133001-UP

1шт.

14

3EC-50-56630

SPONGE

SN: 133001-UP

2шт.

Выбрано товаров: 14