Запчасти Komatsu FG20H 3-Х СЕКЦИОНН. КОНТРОЛЬН. КЛАПАН РЫЧАГ ГИДРАВЛИКА

Схема запчастей Komatsu FG20H - 3-Х СЕКЦИОНН. КОНТРОЛЬН. КЛАПАН РЫЧАГ ГИДРАВЛИКА
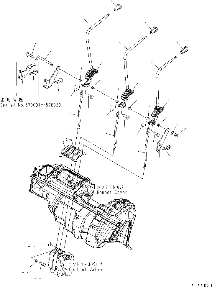
1
2
3
3
4
5
6
7
8
9
10
10
11
12
13
14
15
16
17
18
19
19
20
21
22
23
24
25
26
27
28
29
29
30
31
32
33
34
35
FIT
1:1
100%

Артикул

Название

Примечание

Количество

1

37B-1HB-4011YA

LEVER

SN: 570001-UP

1шт.

2

3EB-61-41170

KNOB

SN: 570001-UP

1шт.

3

3MA-73-13180

BUSHING

SN: 570001-UP

2шт.

4

3EB-61-41130

ROD

SN: 570001-UP

1шт.

5

04205-10820

PIN

SN: 570001-UP

1шт.

6

04050-12015

PIN,COTTER

SN: 570001-UP

1шт.

7

3EB-61-41150

BOOT

SN: 570001-UP

1шт.

8

37B-1HB-4021YA

LEVER

SN: 570001-UP

1шт.

9

3EB-61-41180

KNOB

SN: 570001-UP

1шт.

10

3MA-73-13180

BUSHING

SN: 570001-UP

2шт.

11

3EB-61-41130

ROD

SN: 570001-UP

1шт.

12

04205-10820

PIN

SN: 570001-UP

1шт.

13

04050-12015

PIN,COTTER

SN: 570001-UP

1шт.

14

3EB-61-41150

BOOT

SN: 570001-UP

1шт.

15

3EB-61-41110

BRACKET,L.H.

SN: 570001-UP

1шт.

16

3EB-61-41120

BRACKET,R.H.

SN: 570001-UP

1шт.

17

37B-1HD-4030

SHAFT

SN: 570001-UP

1шт.

18

01435-00612

BOLT

SN: .-UP

1шт.

|$21

0

BOLT

SN: 570001-.

1шт.

19

01435-01020

BOLT

SN: 570001-UP

4шт.

20

01599-01214

NUT

SN: 570001-UP

1шт.

21

01643-51232

WASHER

SN: 570001-UP

1шт.

22

358-60-15250

PIN

SN: 570001-UP

3шт.

23

01641-20508

WASHER

SN: 570001-UP

3шт.

24

04052-10530

PIN,SNAP

SN: 570001-UP

3шт.

25

3EB-50-42560

COVER

SN: 570001-UP

2шт.

26

3EB-50-42570

COVER

SN: 570001-UP

2шт.

27

37B-1HB-4031YA

LEVER

SN: 570001-UP

1шт.

28

3EB-61-41190

KNOB

SN: 570001-UP

1шт.

29

3MA-73-13180

BUSHING

SN: 570001-UP

2шт.

30

3EB-61-41130

ROD

SN: 570001-UP

1шт.

31

04205-10820

PIN

SN: 570001-UP

1шт.

32

04050-12015

PIN,COTTER

SN: 570001-UP

1шт.

33

3EB-61-41150

BOOT

SN: 570001-UP

1шт.

34

3EB-66-43190

BRACKET

SN: 570001-576330

1шт.

35

01435-01020

BOLT

SN: 570001-576330

2шт.

Выбрано товаров: 36