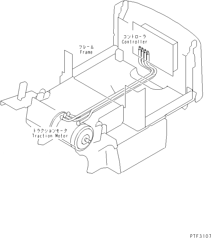
Запчасти Komatsu FB15 ЭЛЕКТРИКА (TRACTION МОТОР КАБЕЛЬ) ЭЛЕКТРИКА

Схема запчастей Komatsu FB15 - ЭЛЕКТРИКА (TRACTION МОТОР КАБЕЛЬ) ЭЛЕКТРИКА
1
FIT
1:1
100%

Артикул

Название

Примечание

Количество

1

3BA-55-51211

CABLE ASS'Y

SN: 803217-UP

1шт.

|$3

0

CABLE ASS'Y

SN: 800001-803216

1шт.

|$4

3BA-55-52211

CABLE ASS'Y,(EXG)

SN: 803217-UP

1шт.

|$5

0

CABLE ASS'Y,(EXG)

SN: 800001-803216

1шт.

|$6

08038-02027

CAP

SN: 800001-UP

4шт.

|$7

37B-1AE-6010

BAND

SN: 800001-UP

1шт.

Выбрано товаров: 6