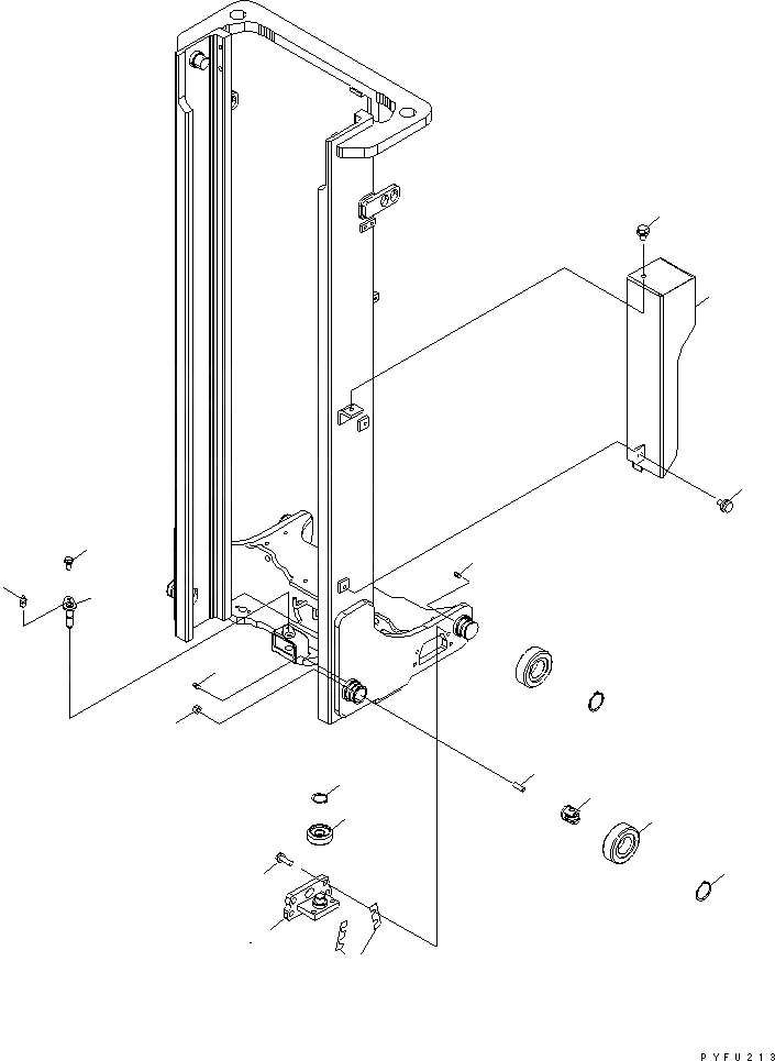
Запчасти Komatsu FB15RW-14 МАЧТА (FFV МАЧТА) (РОЛИК) (ДЛЯ .M - .M МАЧТА) (С ХОЛОДН.) (/) МАЧТА

Схема запчастей Komatsu FB15RW-14 - МАЧТА (FFV МАЧТА) (РОЛИК) (ДЛЯ .M - .M МАЧТА) (С ХОЛОДН.) (/) МАЧТА
1
2
3
4
5
6
6
7
8
9
10
11
12
13
14
15
16
16
FIT
1:1
100%

Артикул

Название

Примечание

Количество

1

37R-7B9-3010

ROLLER,(NS)

SN: 140001-UP

4шт.

|$123

37R-7B9-3020

ROLLER,(NM)

SN: 140001-UP

4шт.

|$124

37R-7B9-3030

ROLLER,(NL)

SN: 140001-UP

4шт.

|$125

37R-7B9-3040

ROLLER,(NLL)

SN: 140001-UP

4шт.

2

04064-05020

RING,SNAP

SN: 140001-UP

4шт.

3

3LA-71-13230

ROLLER

SN: 140001-UP

2шт.

4

3LA-71-31370

SCREW

SN: 140001-UP

2шт.

5

01580-11210

NUT

SN: 140001-UP

2шт.

6

07020-00001

FITTING,GREASE

SN: 140001-UP

4шт.

7

34A-72-11142

ROLLER

SN: 140001-UP

2шт.

8

04064-02512

RING,SNAP

SN: 140001-UP

2шт.

9

3LA-L1-33210UE

BRACKET

SN: 140001-UP

2шт.

|$134

3LA-L1-33210UT

BRACKET,(COLD)

SN: 140001-UP

2шт.

10

3LA-71-00020

SHIM ASS'Y

SN: 140001-UP

1шт.

|$136

0

SHIM, 3.2MM

SN: 140001-UP

-2шт.

|$137

0

SHIM, 1.0MM

SN: 140001-UP

-2шт.

|$138

0

SHIM, 0.5MM

SN: 140001-UP

-2шт.

11

01024-81240

BOLT

SN: 140001-UP

8шт.

12

3RA-44-61841

PIN

SN: 140001-UP

1шт.

13

07020-00000

FITTING,GREASE

SN: 140001-UP

1шт.

14

01024-80820

BOLT

SN: 140001-UP

1шт.

15

3LA-71-33310XC

COVER

SN: 140001-UP

1шт.

16

01024-81016

BOLT

SN: 140001-UP

2шт.

Выбрано товаров: 23