Запчасти Komatsu FB15RL АККУМУЛЯТОР BED ЭЛЕКТРИКА

Схема запчастей Komatsu FB15RL - АККУМУЛЯТОР BED ЭЛЕКТРИКА
FIT
1:1
100%

Артикул

Название

Примечание

Количество

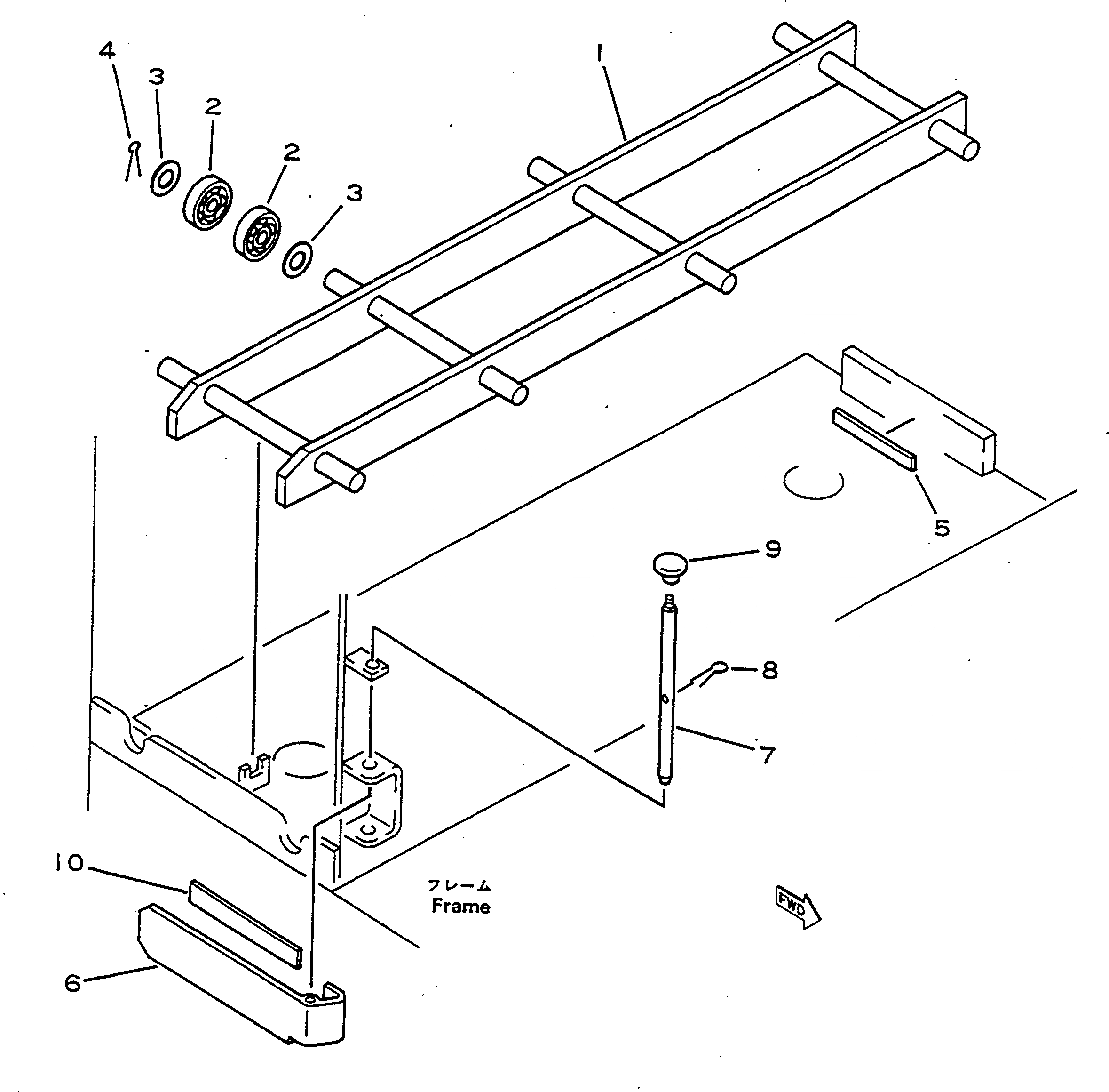
1

3RA-59-51112WD

BED,(FOR 1.0 TON AND 1.25 TON)

SN: 60001-UP

1шт.

|$1

3RA-59-51212WD

BED,(FOR 1.35 TON AND UP)

SN: 60001-UP

1шт.

2

06002-06004

BEARING

SN: 60001-UP

16шт.

3

3RA-59-53750

PLATE

SN: 60001-UP

16шт.

4

04059-14035

PIN,COTTER

SN: 60001-UP

8шт.

5

3RA-59-51260

RUBBER

SN: 60001-UP

1шт.

6

3RA-44-76450YS

LEVER,(FOR 1.0 TON AND 1.25 TON)

SN: 60001-UP

1шт.

|$7

3RA-44-76230YS

LEVER,(FOR 1.35 TON AND UP)

SN: 60001-UP

1шт.

7

3RA-44-76240

LEVER

SN: 60001-UP

1шт.

8

04050-12020

PIN,COTTER

SN: 60001-UP

1шт.

9

3RB-50-51540

KNOB

SN: 60001-UP

1шт.

10

34A-52-15270

RUBBER

SN: 60001-UP

2шт.

Выбрано товаров: 12