Запчасти Komatsu D155C-1 БЛОК РУЛЕВ. УПРАВЛЕНИЯ (ДЛЯ ДВИГАТЕЛЬ)(№8-) ОСНОВН. РАМА И КОМПОНЕНТЫ

Схема запчастей Komatsu D155C-1 - БЛОК РУЛЕВ. УПРАВЛЕНИЯ (ДЛЯ ДВИГАТЕЛЬ)(№8-) ОСНОВН. РАМА И КОМПОНЕНТЫ
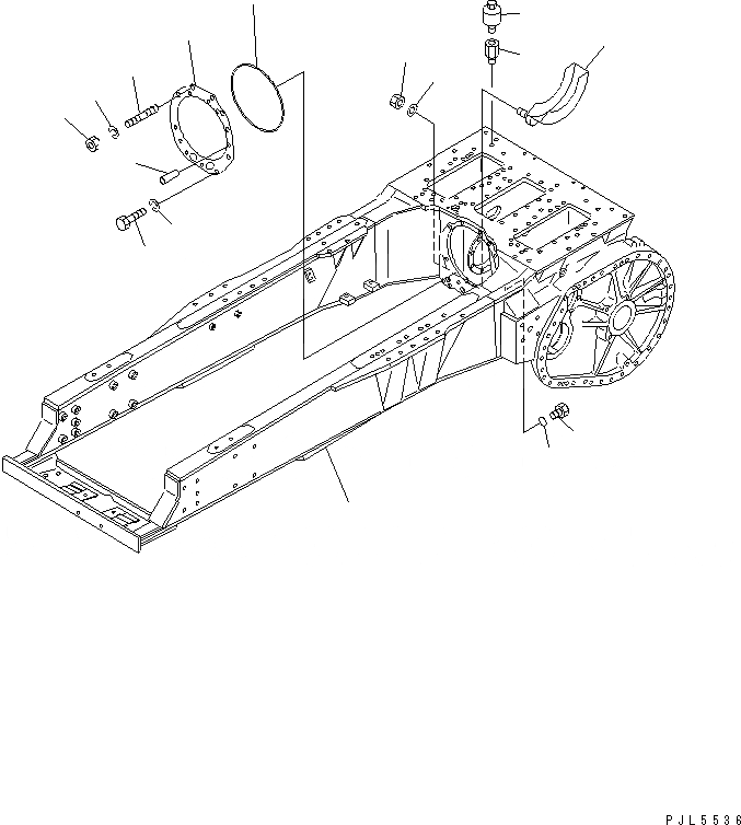
1
2
3
4
5
6
7
8
9
10
11
12
13
14
15
16
FIT
1:1
100%

Артикул

Название

Примечание

Количество

1

176-21-55100

MAIN FRAME ASS'Y

SN: 31586-UP

1шт.

2

07044-13620

PLUG

SN: 31586-UP

1шт.

3

07002-13634

O-RING

SN: 31586-UP

1шт.

4

07350-00215

NIPPLE

SN: 31586-UP

3шт.

5

07030-00252

BREATHER

SN: 31586-UP

3шт.

6

175-21-11181

COVER

SN: 31586-UP

1шт.

7

01580-11210

NUT

SN: 31586-UP

3шт.

8

01643-31232

WASHER

SN: 31586-UP

3шт.

9

175-21-32185

GASKET

SN: 31586-UP

1шт.

10

07000-15470

O-RING

SN: 31586-UP

1шт.

11

04020-01842

PIN

SN: 31586-UP

1шт.

12

01120-32050

STUD

SN: 31586-UP

5шт.

13

01602-22060

WASHER

SN: 31586-UP

5шт.

14

01582-02016

NUT

SN: 31586-UP

5шт.

15

01010-82050

BOLT

SN: 31586-UP

6шт.

16

01602-22060

WASHER

SN: 31586-UP

6шт.

Выбрано товаров: 16