Запчасти Komatsu D155C-1P FEND И ОСНОВН. КОНСТРУКЦИЯ(№8-7) ЧАСТИ КОРПУСА

Схема запчастей Komatsu D155C-1P - FEND И ОСНОВН. КОНСТРУКЦИЯ(№8-7) ЧАСТИ КОРПУСА
FIT
1:1
100%

Артикул

Название

Примечание

Количество

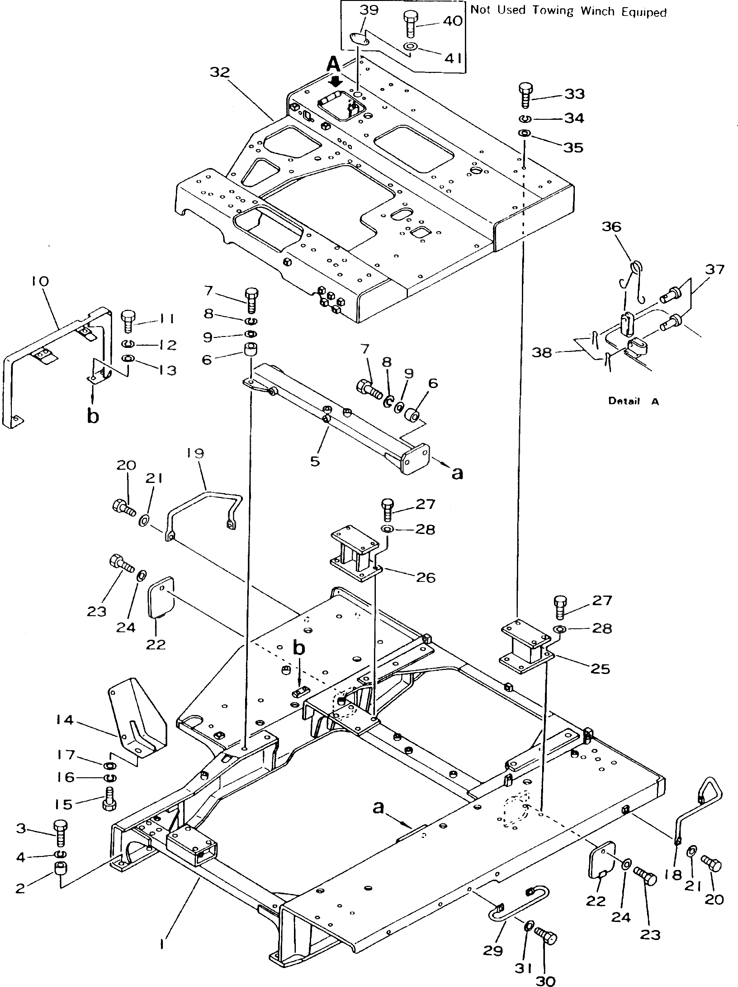
1

176-54-47112

FRAME

SN: 15686-@

1шт.

2

176-54-11760

SPACER

SN: 15686-@

14шт.

3

01010-81675

BOLT

SN: 15686-@

14шт.

4

01643-31645

WASHER

SN: 15686-@

14шт.

5

176-54-47132

SUPPORT

SN: 15686-@

1шт.

6

176-54-11760

SPACER

SN: 15686-@

4шт.

7

01010-81665

BOLT

SN: 21739-@

4шт.

7

0

BOLT

SN: 15686-21738

4шт.

8

01602-01648

WASHER

SN: 15686-21738

4шт.

9

01643-31645

WASHER

SN: 15686-@

4шт.

10

176-54-45211

BRACKET

SN: 15686-@

1шт.

11

01010-81225

BOLT

SN: 21739-@

3шт.

11

0

BOLT

SN: 15686-21738

3шт.

12

01602-01236

WASHER

SN: 15686-21738

3шт.

13

01643-31232

WASHER

SN: 15686-@

3шт.

14

176-54-46171

COVER

SN: 15686-@

1шт.

15

01010-81230

BOLT

SN: 15686-@

3шт.

16

01602-01236

WASHER

SN: 15686-21738

3шт.

17

01643-31232

WASHER

SN: 15686-@

3шт.

18

146-54-11810

HANDLE,L.H.

SN: 15686-@

1шт.

19

146-54-11820

HANDLE,R.H.

SN: 15686-@

1шт.

20

01010-81230

BOLT

SN: 15686-@

4шт.

21

01643-31232

WASHER

SN: 21739-@

4шт.

21

0

WASHER

SN: 15686-21738

4шт.

22

176-54-47221

COVER

SN: 15686-@

2шт.

23

01010-81235

BOLT

SN: 15686-@

2шт.

24

01643-31232

WASHER

SN: 21739-@

2шт.

24

0

WASHER

SN: 15686-21738

2шт.

25

176-54-45530

BRACKET

SN: 15686-31573

2шт.

26

176-54-45540

BRACKET

SN: 15686-31573

2шт.

27

01010-81440

BOLT

SN: 15686-31573

16шт.

28

01643-31445

WASHER

SN: 21739-31573

16шт.

28

0

WASHER

SN: 15686-21738

16шт.

29

09420-02502

HANDLE

SN: 15686-31573

1шт.

30

01010-81230

BOLT

SN: 15686-31573

2шт.

31

01643-31232

WASHER

SN: 21739-31573

2шт.

31

0

WASHER

SN: 15686-21738

2шт.

32

176-54-45460

FRAME

SN: 15686-@

1шт.

33

01010-81440

BOLT

SN: 15686-@

16шт.

34

01602-01442

WASHER

SN: 15686-21738

16шт.

35

01643-31445

WASHER

SN: 15686-@

16шт.

36

09463-00002

SPRING

SN: 15686-@

1шт.

37

04205-00618

PIN

SN: 15686-@

2шт.

38

04050-01610

PIN

SN: 15686-@

2шт.

39

196-54-29470

PLATE

SN: 21739-@

1шт.

40

01010-81230

BOLT

SN: 12739-@

2шт.

41

01643-31232

WASHER

SN: 21739-@

2шт.

Выбрано товаров: 47