Запчасти Komatsu D155C-1P-ZZ ПОДВЕСКА ЧАСТИ КОРПУСА

Схема запчастей Komatsu D155C-1P-ZZ - ПОДВЕСКА ЧАСТИ КОРПУСА
FIT
1:1
100%

Артикул

Название

Примечание

Количество

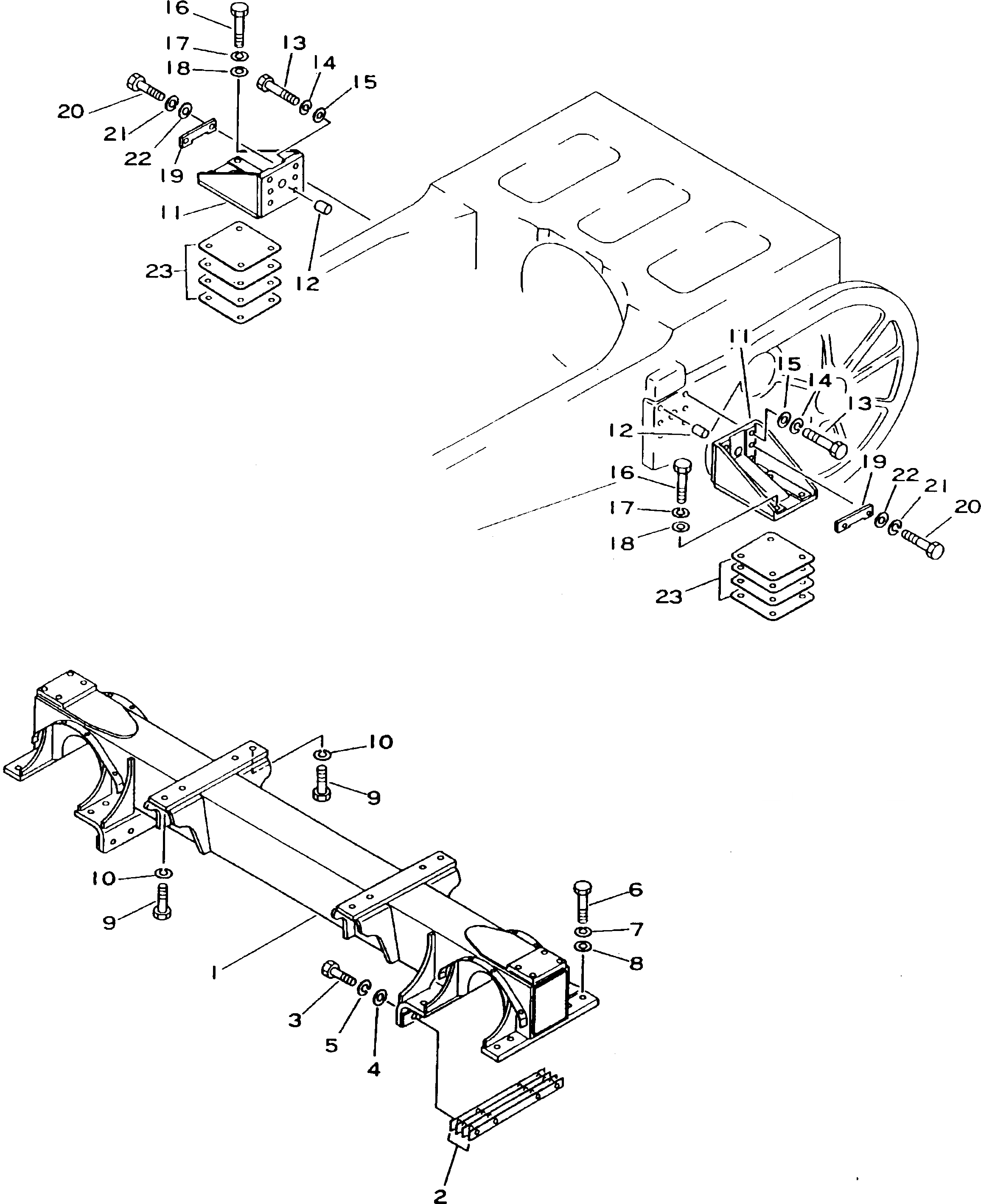
1

176-50-41112

BAR

SN: 15686-UP

1шт.

2

176-50-11130

SHIM¤ 0.5MM

SN: 15686-UP

28шт.

3

01018-02490

BOLT

SN: 21739-UP

8шт.

|3

0

BOLT

SN: 15686-21738

8шт.

4

176-50-41120

WASHER

SN: 15686-UP

8шт.

5

01643-32460

WASHER

SN: 21739-UP

8шт.

|5

0

WASHER,SPRING

SN: 15686-21738

8шт.

6

01018-02490

BOLT

SN: 21739-UP

16шт.

|6

0

BOLT

SN: 15686-21738

16шт.

7

01602-02472

WASHER,SPRING

SN: 15686-21738

16шт.

8

01643-32460

WASHER

SN: 15686-UP

16шт.

9

01019-02450

BOLT

SN: 15686-UP

8шт.

10

01643-32460

WASHER

SN: 21739-UP

8шт.

|10

0

WASHER,SPRING

SN: 15686-21738

8шт.

11

176-50-11140

BRACKET

SN: 15686-UP

2шт.

12

176-50-11150

PIN

SN: 15686-UP

2шт.

13

01018-02470

BOLT

SN: 21739-UP

8шт.

|13

01018-02480

BOLT

SN: 15686-21738

8шт.

14

01602-02472

WASHER,SPRING

SN: 15686-21738

8шт.

15

01643-32460

WASHER

SN: 15686-UP

8шт.

16

01018-02470

BOLT

SN: 21739-UP

8шт.

|16

01018-02480

BOLT

SN: 15686-21738

8шт.

17

01602-02472

WASHER,SPRING

SN: 15686-21738

8шт.

18

01643-32460

WASHER

SN: 15686-UP

8шт.

19

176-50-11180

PLATE

SN: 15686-UP

2шт.

20

01010-82445

BOLT

SN: 21739-UP

4шт.

|20

01010-32450

BOLT

SN: 15686-21738

4шт.

21

01602-02472

WASHER,SPRING

SN: 15686-21738

4шт.

22

01643-32460

WASHER

SN: 15686-UP

4шт.

23

176-50-11160

SHIM¤ 0.5MM

SN: 15686-UP

28шт.

Выбрано товаров: 0