Запчасти Komatsu D155C-1P-ZZ ЗАСЛОНКА РАДИАТОРА И IT УПРАВЛ-Е (/) КОМПОНЕНТЫ ДВИГАТЕЛЯ И ЭЛЕКТРИКА

Схема запчастей Komatsu D155C-1P-ZZ - ЗАСЛОНКА РАДИАТОРА И IT УПРАВЛ-Е (/) КОМПОНЕНТЫ ДВИГАТЕЛЯ И ЭЛЕКТРИКА
FIT
1:1
100%

Артикул

Название

Примечание

Количество

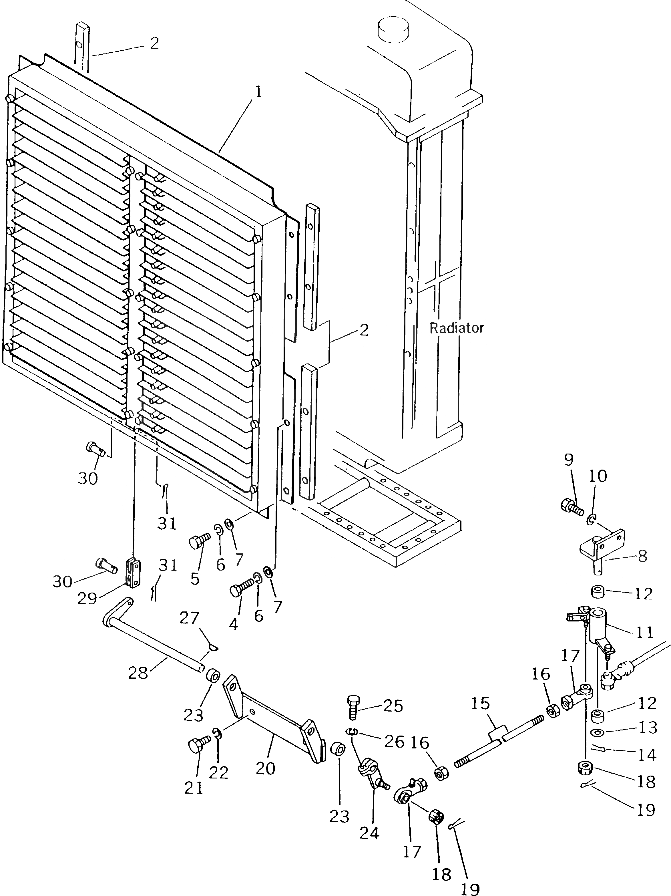
1

19N-03-11140

RADIATOR SHUTTE

SN: 21739-UP

1шт.

|1

0

SHUTTER ASS'Y

SN: 15686-21738

1шт.

2

175-03-32250

PLATE

SN: 15686-UP

4шт.

3

175-03-31880

TANK

SN: 15686-UP

1шт.

4

01010-81035

BOLT

SN: 15686-UP

8шт.

5

01010-31020

BOLT

SN: 15686-UP

4шт.

6

01602-31030

WASHER,SPRING

SN: 15686-UP

12шт.

7

01643-31032

WASHER

SN: 15686-UP

12шт.

8

176-03-42210

BRACKET

SN: 15686-UP

1шт.

9

01010-81225

BOLT

SN: 15686-UP

2шт.

10

01643-31232

WASHER

SN: 21739-UP

2шт.

|10

0

WASHER,SPRING

SN: 15686-21738

2шт.

11

176-03-42220

LEVER

SN: 15686-UP

1шт.

12

195-43-12640

BUSHING

SN: 15686-UP

2шт.

13

01640-21626

WASHER

SN: 15686-UP

1шт.

14

04050-03025

PIN,COTTER

SN: 15686-UP

1шт.

15

04245-41068

ROD

SN: 23891-UP

1шт.

|15

0

ROD

SN: 15686-23890

1шт.

16

01582-01008

NUT

SN: 15686-UP

2шт.

17

04250-41056

END,ROD

SN: 15686-UP

2шт.

18

01593-01008

NUT

SN: 15686-UP

2шт.

19

04050-02018

PIN,COTTER

SN: 15686-UP

2шт.

20

176-03-42180

BRACKET

SN: 15686-UP

1шт.

21

01010-81230

BOLT

SN: 15686-UP

2шт.

22

01643-31232

WASHER

SN: 21739-UP

2шт.

|22

0

WASHER,SPRING

SN: 15686-21738

2шт.

23

195-43-12640

BUSHING

SN: 15686-UP

2шт.

24

176-03-42190

LEVER

SN: 15686-UP

1шт.

25

01010-80830

BOLT

SN: 15686-UP

1шт.

26

01602-00825

WASHER,SPRING

SN: 15686-UP

1шт.

27

04010-00519

KEY

SN: 15686-UP

1шт.

28

176-03-42170

LEVER

SN: 15686-UP

1шт.

29

176-76-27320

YOKE

SN: 15686-UP

1шт.

30

04205-00822

PIN

SN: 15686-UP

2шт.

31

04050-02012

PIN,COTTER

SN: 15686-UP

2шт.

Выбрано товаров: 35