Запчасти Komatsu D155C-1P-ZZ БЛОК КОНДИЦИОНЕРА(№7-) ОПЦИОННЫЕ КОМПОНЕНТЫ

Схема запчастей Komatsu D155C-1P-ZZ - БЛОК КОНДИЦИОНЕРА(№7-) ОПЦИОННЫЕ КОМПОНЕНТЫ
FIT
1:1
100%

Артикул

Название

Примечание

Количество

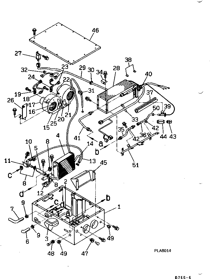
|1

145-Z79-5103

UNIT ASS'Y

SN: 31574-UP

1шт.

1

145-Z79-5111

CASE SUB ASS'Y

SN: 31574-UP

1шт.

2

145-Z79-6390

PACKING

SN: 31574-UP

1шт.

3

145-Z79-6410

PACKING

SN: 31574-UP

2шт.

4

145-Z79-5180

UNIT SUB ASS'Y

SN: 31574-UP

1шт.

5

145-Z79-6540

HOSE

SN: 31574-UP

1шт.

6

145-Z79-6530

HOSE

SN: 31574-UP

1шт.

7

145-Z79-6550

HOSE

SN: 31574-UP

1шт.

8

145-Z79-6560

CLIP

SN: 31574-UP

4шт.

9

145-Z79-6470

GROMMET

SN: 31574-UP

2шт.

10

145-Z79-6520

CLIP

SN: 31574-UP

3шт.

11

145-Z79-5130

VALVE ASS'Y

SN: 31574-UP

1шт.

12

145-Z79-5160

THERMOSTAT ASS'Y

SN: 31574-UP

1шт.

13

145-Z79-6770

CABLE

SN: 31574-UP

1шт.

14

145-Z79-6780

CABLE

SN: 31574-UP

1шт.

15

145-Z79-5140

BLOWER ASS'Y

SN: 31574-UP

1шт.

16

145-Z79-6590

FAN SUB ASS'Y

SN: 31574-UP

1шт.

17

145-Z79-6280

MOTOR ASS'Y

SN: 31574-UP

1шт.

18

145-Z79-6610

HOLDER

SN: 31574-UP

1шт.

19

145-Z79-6690

RESISTOR

SN: 31574-UP

1шт.

20

145-Z79-5150

BLOWER ASS'Y

SN: 31574-UP

1шт.

21

145-Z79-6730

FAN SUB ASS'Y

SN: 31574-UP

1шт.

22

145-Z79-6280

MOTOR ASS'Y

SN: 31574-UP

1шт.

23

145-Z79-6610

HOLDER

SN: 31574-UP

1шт.

24

145-Z79-6740

RESISTOR

SN: 31574-UP

1шт.

25

145-Z79-6750

PACKING

SN: 31574-UP

1шт.

26

ND146370-0401

COVER SUB ASS'Y

SN: 31574-UP

1шт.

27

145-Z79-5170

RELAY ASS'Y

SN: 31574-UP

1шт.

28

ND447600-2430

EVAPORATOR ASS'Y

SN: 31574-UP

1шт.

29

145-Z79-6791

HARNESS SUB ASS'Y

SN: 31574-UP

1шт.

30

ND146984-1560

GROMMET

SN: 31574-UP

2шт.

31

ND146984-1200

GROMMET

SN: 31574-UP

2шт.

32

ND146690-4680

CLAMP

SN: 31574-UP

1шт.

33

145-Z79-6870

BAND

SN: 31574-UP

6шт.

34

ND156621-7260

BRACKET

SN: 31574-UP

1шт.

35

ND446890-2930

TUBE

SN: 31574-UP

1шт.

36

0

CLIP

SN: 31574-UP

2шт.

37

145-Z79-6920

INSULATOR

SN: 31574-UP

1шт.

38

ND145511-0040

HOLDER

SN: 31574-UP

2шт.

39

ND447500-0210

VALVE

SN: 31574-UP

1шт.

40

0

CLIP

SN: 31574-UP

1шт.

41

ND446210-6360

TUBE

SN: 31574-UP

1шт.

42

0

CLIP

SN: 31574-UP

2шт.

43

145-Z79-6910

INSULATOR

SN: 31574-UP

1шт.

44

145-Z79-6930

INSULATOR

SN: 31574-UP

1шт.

45

145-Z79-6940

DAMPER AIR

SN: 31574-UP

1шт.

46

145-Z79-5120

COVER SUB ASS'Y

SN: 31574-UP

1шт.

47

145-Z79-6480

GROMMET

SN: 31574-UP

1шт.

48

145-Z79-6490

GROMMET

SN: 31574-UP

1шт.

49

145-Z79-6510

GROMMET

SN: 31574-UP

2шт.

50

ND446890-4180

TUBE

SN: 31574-UP

1шт.

51

ND146520-3710

BRACKET

SN: 31574-UP

1шт.

Выбрано товаров: 52