Запчасти Komatsu D155C-1P-ZZ МАСЛООХЛАДИТЕЛЬ (ДЛЯ ПОДОГРЕВ. РАКЕТНОГО ТИПА)(№9-) ПОДОГРЕВ. РАКЕТНОГО ТИПА

Схема запчастей Komatsu D155C-1P-ZZ - МАСЛООХЛАДИТЕЛЬ (ДЛЯ ПОДОГРЕВ. РАКЕТНОГО ТИПА)(№9-) ПОДОГРЕВ. РАКЕТНОГО ТИПА
FIT
1:1
100%

Артикул

Название

Примечание

Количество

|1

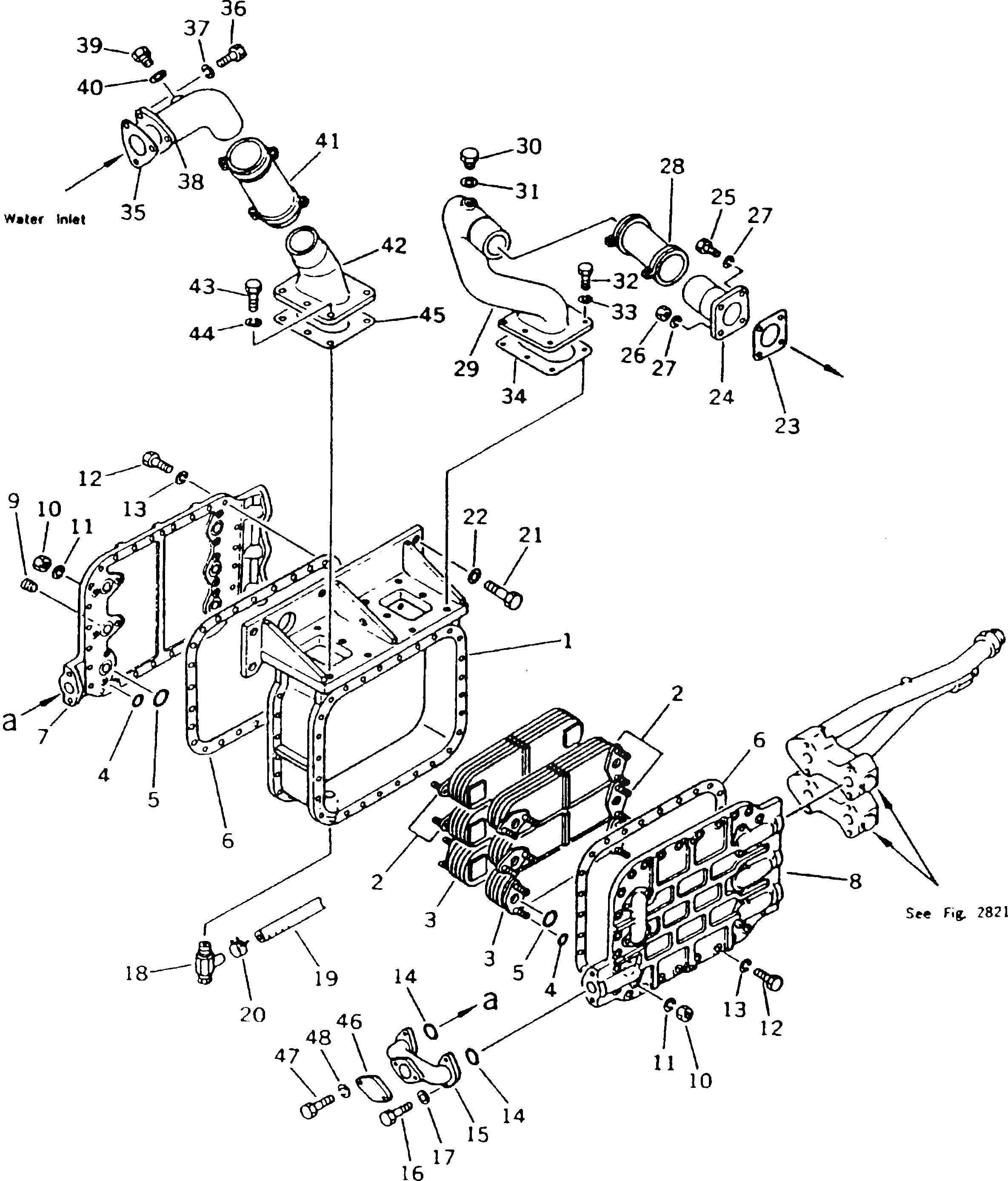
196-03-00062

OIL COOLER ASS'Y

SN: 31416-UP

1шт.

|1

0

OIL COOLER ASS'Y

SN: 31271-31415

1шт.

|1

0

OIL COOLER ASS'Y

SN: 15686-31270

1шт.

1

196-03-13110

CASE

SN: 15686-UP

1шт.

2

195-03-19130

COOLER

SN: 15686-UP

4шт.

3

196-03-13140

COOLER

SN: 15686-UP

2шт.

4

07000-62014

O-RING

SN: 15686-UP

24шт.

5

07000-63032

O-RING

SN: 15686-UP

12шт.

6

196-03-13151

GASKET

SN: 31271-UP

2шт.

7

196-03-13120

COVER

SN: 15686-UP

1шт.

8

196-03-13130

COVER

SN: 15686-UP

1шт.

9

195-03-19190

PLUG

SN: 15686-UP

10шт.

10

01580-00806

NUT

SN: 15686-UP

24шт.

11

01602-00825

WASHER,SPRING

SN: 15686-UP

24шт.

12

01010-81030

BOLT

SN: 15686-UP

56шт.

13

01602-01030

WASHER,SPRING

SN: 15686-UP

56шт.

14

07000-03038

O-RING

SN: 15686-UP

4шт.

15

195-03-19110

FLANGE

SN: 15686-UP

3шт.

16

01010-81240

BOLT

SN: 15686-UP

12шт.

17

01643-31232

WASHER

SN: 21739-UP

12шт.

18

195-03-13241

VALVE

SN: 31416-UP

1шт.

|18

0

VALVE

SN: 15686-31415

1шт.

19

195-03-13180

HOSE

SN: 15686-UP

1шт.

20

07285-00180

CLIP

SN: 31416-UP

1шт.

21

01010-81645

BOLT

SN: 15686-UP

5шт.

22

01643-31645

WASHER

SN: 15686-UP

5шт.

23

195-03-12561

GASKET

SN: 31271-UP

1шт.

24

175-03-34142

TUBE

SN: 15686-UP

1шт.

25

01010-81040

BOLT

SN: 15686-UP

2шт.

26

01580-01008

NUT

SN: 15686-UP

2шт.

27

01602-01030

WASHER,SPRING

SN: 15686-UP

4шт.

28

07332-02400

COUPLING

SN: 15686-UP

1шт.

|28

07332-52400

GASKET

SN: 15686-UP

2шт.

|28

07332-62400

CLAMP

SN: 15686-UP

2шт.

|29

175-03-00012

TUBE ASS'Y

SN: 15686-UP

1шт.

|29

0

TUBE

SN: 15686-UP

1шт.

30

07040-11612

PLUG

SN: 15686-UP

1шт.

31

07005-01612

GASKET

SN: 15686-UP

1шт.

32

01010-81040

BOLT

SN: 15686-UP

4шт.

33

01602-01030

WASHER,SPRING

SN: 15686-UP

4шт.

34

195-03-12341

GASKET

SN: 31271-UP

1шт.

|34

0

GASKET

SN: 15686-31270

1шт.

35

195-03-12820

GASKET

SN: 31271-UP

1шт.

|35

0

GASKET

SN: 15686-31270

1шт.

36

01010-81035

BOLT

SN: 15686-UP

3шт.

37

01602-01030

WASHER,SPRING

SN: 15686-UP

3шт.

|38

175-03-00132

TUBE ASS'Y

SN: 15686-UP

1шт.

38

0

TUBE

SN: 15686-UP

1шт.

39

07040-11612

PLUG

SN: 15686-UP

1шт.

40

07005-01612

GASKET

SN: 15686-UP

1шт.

41

07332-02400

COUPLING

SN: 15686-UP

1шт.

|41

0

GASKET

SN: 15686-UP

2шт.

|41

0

CLAMP

SN: 15686-UP

2шт.

42

175-03-34122

TUBE

SN: 15686-UP

1шт.

43

01010-81040

BOLT

SN: 15686-UP

4шт.

44

01602-01030

WASHER,SPRING

SN: 15686-UP

4шт.

45

195-03-12341

GASKET

SN: 31271-UP

1шт.

|45

0

GASKET

SN: 15686-31270

1шт.

46

176-03-43150

FLANGE

SN: 15686-UP

1шт.

47

01010-81030

BOLT

SN: 15686-UP

2шт.

48

01602-21030

WASHER,SPRING

SN: 15686-UP

2шт.

Выбрано товаров: 61