Запчасти Komatsu D155C-1P-ZZ СИГНАЛ. ЗАДНЕГО ХОДА КОМПОНЕНТЫ ДВИГАТЕЛЯ И ЭЛЕКТРИКА

Схема запчастей Komatsu D155C-1P-ZZ - СИГНАЛ. ЗАДНЕГО ХОДА КОМПОНЕНТЫ ДВИГАТЕЛЯ И ЭЛЕКТРИКА
FIT
1:1
100%

Артикул

Название

Примечание

Количество

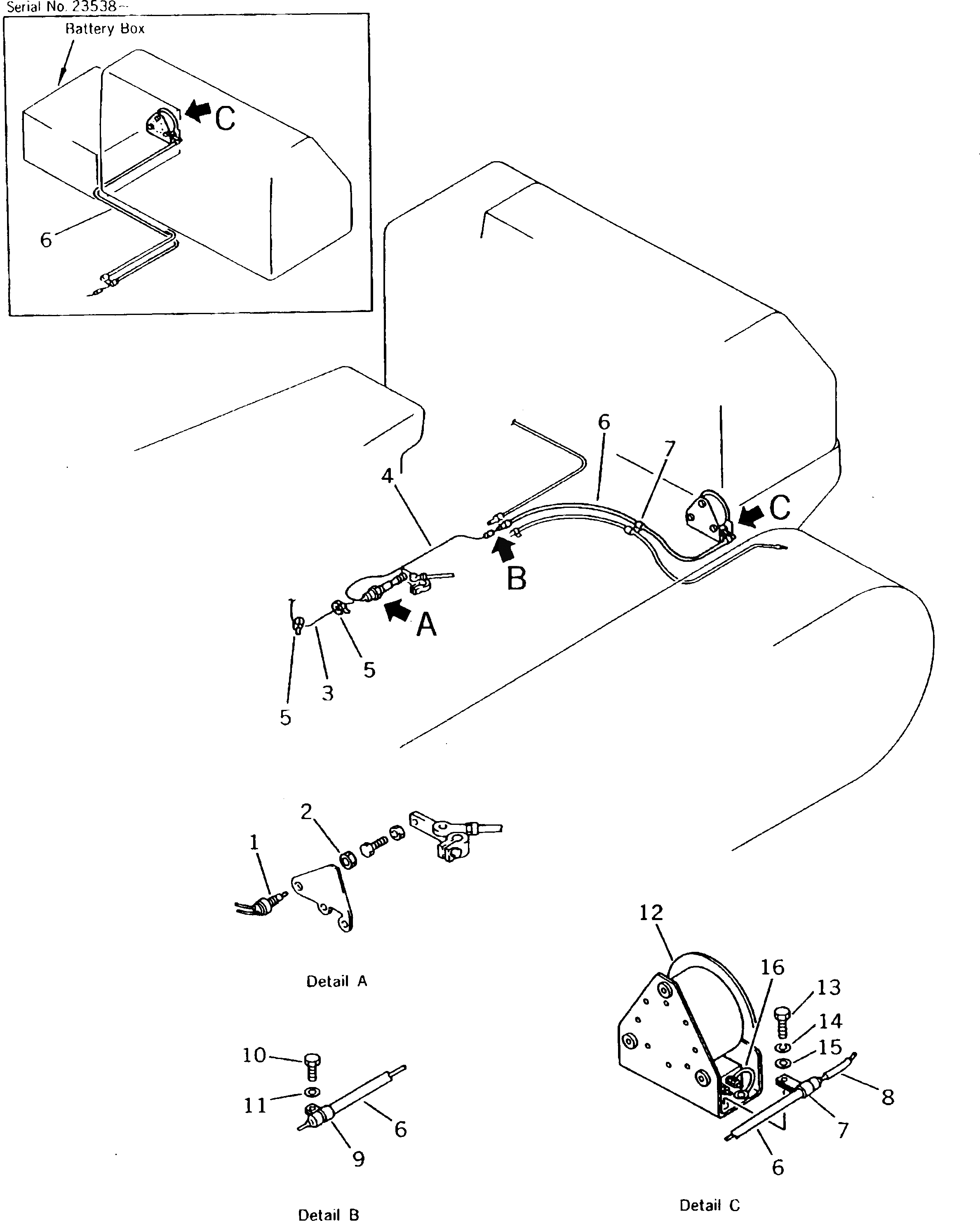
1

08074-70000

SWITCH,BACK-UP LAMP

SN: 15686-UP

1шт.

2

01583-11811

NUT

SN: 15686-UP

1шт.

3

176-06-41930

WIRE

SN: 15686-UP

1шт.

4

176-06-41940

WIRE

SN: 15686-UP

1шт.

5

08034-00414

BAND

SN: 23891-UP

4шт.

|5

08034-00414

BAND

SN: 15686-23890

3шт.

6

176-06-42320

WIRE ASS'Y

SN: 23538-UP

1шт.

|6

156-06-11590

WIRE ASS'Y

SN: 15686-23537

1шт.

7

195-979-3480

CLIP

SN: 15686-UP

1шт.

8

150-04-12320

TUBE

SN: 15686-UP

1шт.

9

08035-01510

CLIP

SN: 23891-UP

3шт.

|9

08035-01510

CLIP

SN: 15686-23890

2шт.

10

01010-81020

BOLT

SN: 15686-UP

1шт.

11

01643-31032

WASHER

SN: 15686-UP

1шт.

12

175-06-39151

ALARM

SN: 15686-UP

1шт.

13

01010-80820

BOLT

SN: 15686-UP

4шт.

14

01602-20825

WASHER,SPRING

SN: 15686-UP

4шт.

15

01643-30823

WASHER

SN: 15686-UP

4шт.

16

08029-05010

WIRE

SN: 23538-UP

1шт.

Выбрано товаров: 19