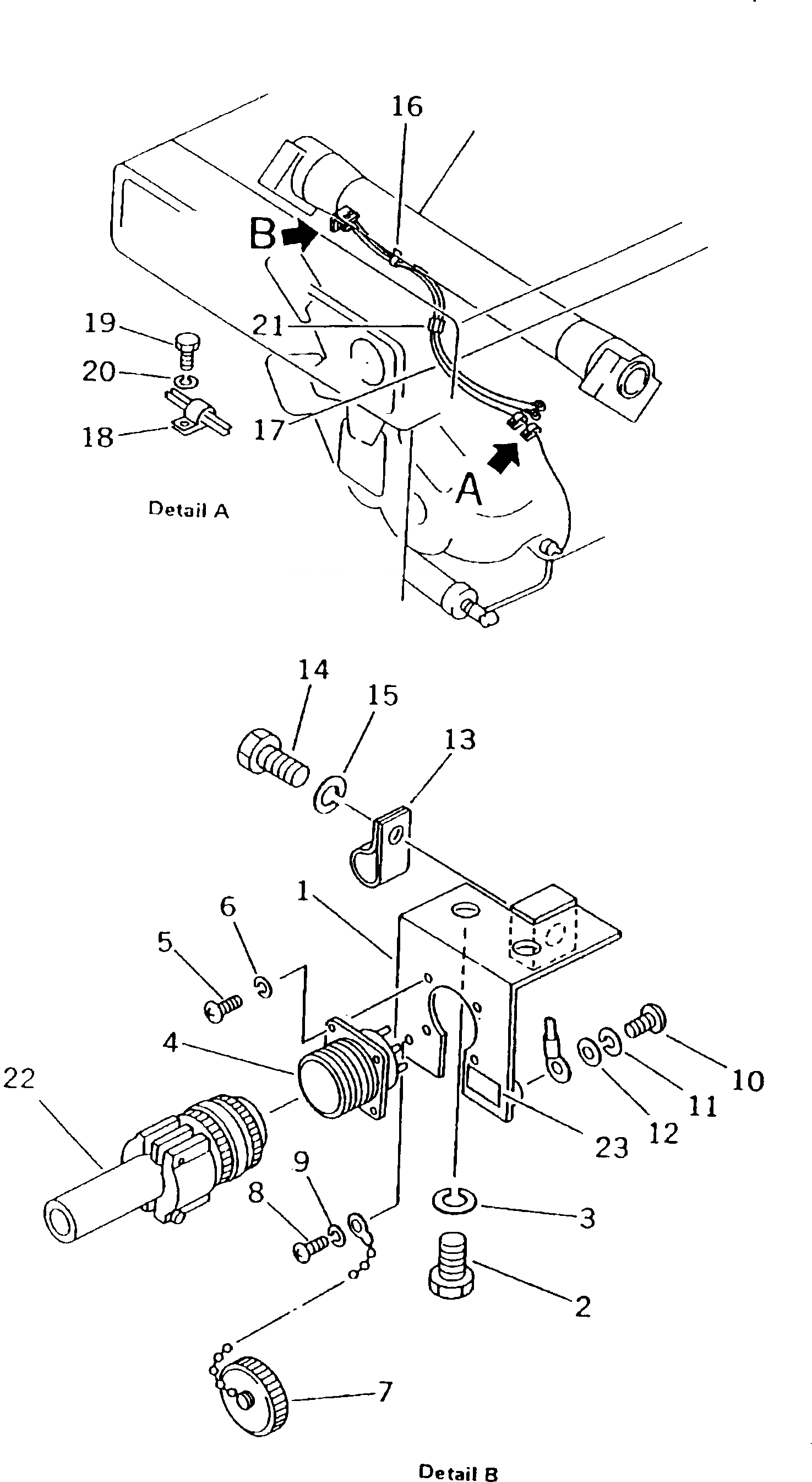
Запчасти Komatsu D155C-1P-ZZ СИСТЕМА ПОДОГРЕВА(№8-) КОМПОНЕНТЫ ДВИГАТЕЛЯ И ЭЛЕКТРИКА

Схема запчастей Komatsu D155C-1P-ZZ - СИСТЕМА ПОДОГРЕВА(№8-) КОМПОНЕНТЫ ДВИГАТЕЛЯ И ЭЛЕКТРИКА
FIT
1:1
100%

Артикул

Название

Примечание

Количество

1

195-06-22810

BRACKET

SN: 15686-31302

1шт.

2

01010-31225

BOLT

SN: 15686-31302

2шт.

3

01602-01236

WASHER,SPRING

SN: 15686-31302

2шт.

4

195-06-22820

WIRE ASS'Y

SN: 15686-31302

1шт.

5

01220-30312

SCREW

SN: 15686-@

4шт.

6

01601-00307

WASHER,SPRING

SN: 15686-@

4шт.

7

175-06-39830

CAP

SN: 15686-@

1шт.

8

01220-30312

SCREW

SN: 15686-31302

1шт.

9

01601-00307

WASHER,SPRING

SN: 15686-31302

1шт.

10

01220-30612

SCREW

SN: 15686-@

1шт.

11

01602-00619

WASHER,SPRING

SN: 15686-@

1шт.

12

01641-00608

WASHER

SN: 15686-@

1шт.

13

08036-21814

CLIP

SN: 15686-31302

1шт.

14

01010-31220

BOLT

SN: 15686-31302

1шт.

15

01602-01236

WASHER,SPRING

SN: 15686-31302

1шт.

16

08036-21814

CLIP

SN: 15686-@

3шт.

17

195-06-22830

WIRE ASS'Y

SN: 15686-31302

1шт.

18

08036-30614

CLIP

SN: 15686-31302

1шт.

19

01010-31220

BOLT

SN: 15686-@

1шт.

20

01602-01236

WASHER,SPRING

SN: 15686-@

1шт.

21

08026-01920

TAPE

SN: 15686-31302

1шт.

22

175-06-37871

PLUG

SN: 15686-@

1шт.

23

195-98-14750

PLATE¤ CAUTION

SN: 15686-31302

1шт.

Выбрано товаров: 23