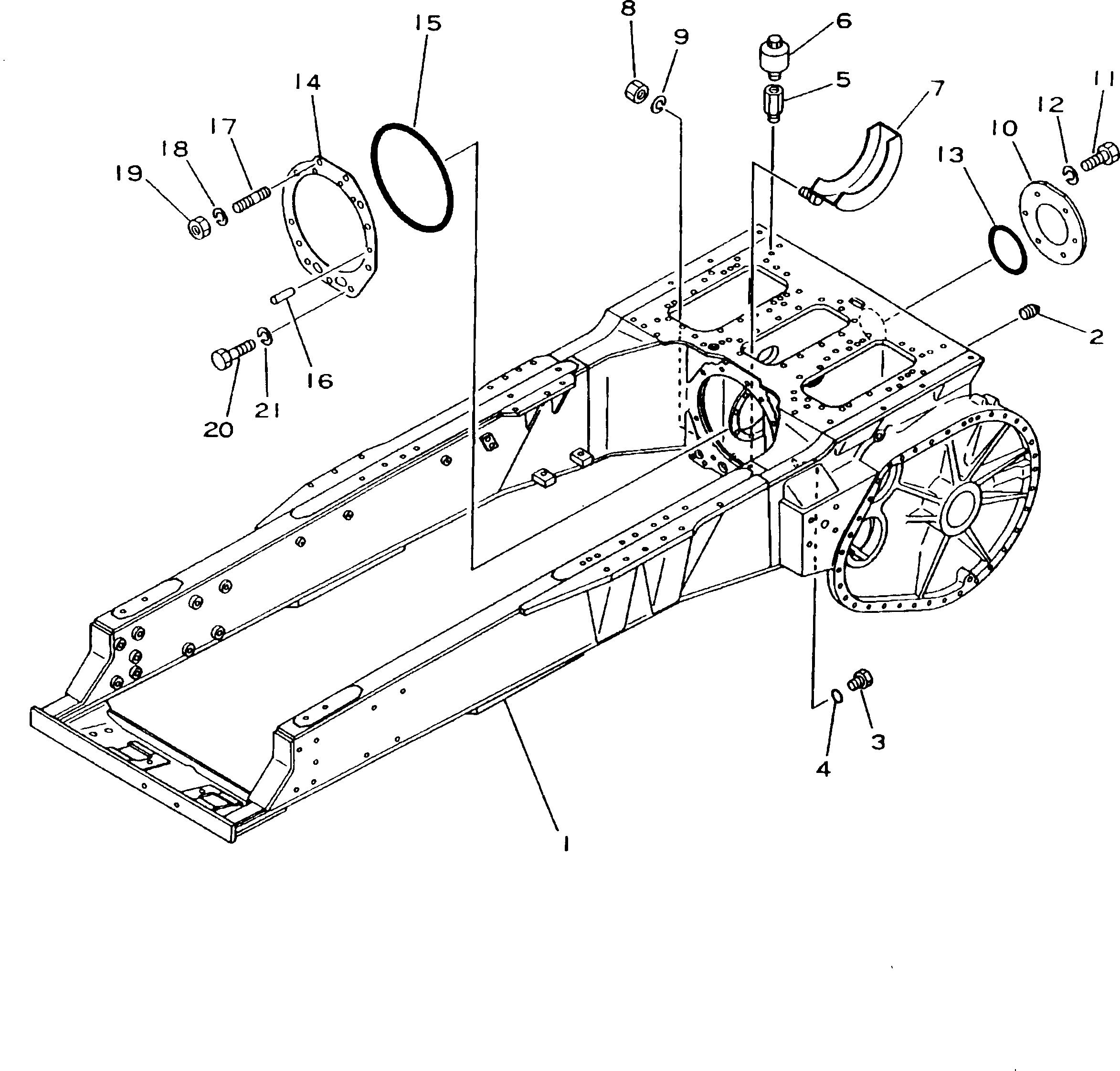
Запчасти Komatsu D155C-1P-ZZ ОСНОВН. РАМА КОНЕЧНАЯ ПЕРЕДАЧА И СИСТЕМАУПРАВЛЕНИЯ ПОВОРОТОМ

Схема запчастей Komatsu D155C-1P-ZZ - ОСНОВН. РАМА КОНЕЧНАЯ ПЕРЕДАЧА И СИСТЕМАУПРАВЛЕНИЯ ПОВОРОТОМ
FIT
1:1
100%

Артикул

Название

Примечание

Количество

1

176-21-41103

MAIN FRAME ASS'Y

SN: 15686-UP

1шт.

|1

176-21-41200

MAIN FRAME ASS'Y,(FOR ROCKET HEATER)

SN: 23946-UP

1шт.

2

07049-03949

PLUG

SN: 15686-UP

14шт.

3

07044-13620

PLUG,MAGNETIC

SN: 15686-UP

1шт.

4

07002-03634

O-RING

SN: 21739-UP

1шт.

|4

07000-03032

O-RING

SN: 15686-21738

1шт.

5

07350-00215

NIPPLE

SN: 15686-UP

3шт.

6

07030-00252

BREATHER

SN: 15686-UP

3шт.

7

175-21-11181

COVER

SN: 15686-UP

1шт.

8

01580-01210

NUT

SN: 15686-UP

3шт.

9

01643-31232

WASHER

SN: 15686-UP

3шт.

10

175-21-32170

COVER

SN: 15686-UP

1шт.

11

01010-82040

BOLT

SN: 15686-UP

6шт.

12

01602-02060

WASHER,SPRING

SN: 15686-UP

6шт.

13

07000-05195

O-RING

SN: 15686-UP

1шт.

14

175-21-32185

GASKET

SN: 31271-UP

1шт.

|14

0

GASKET (KIT)

SN: 15686-31270

1шт.

15

07000-05470

O-RING

SN: 15686-UP

1шт.

16

04020-01842

PIN,DOWEL

SN: 15686-UP

1шт.

17

01120-32050

STUD

SN: 15686-UP

5шт.

18

01602-02060

WASHER,SPRING

SN: 15686-UP

5шт.

19

01582-02016

NUT

SN: 15686-UP

5шт.

20

01010-82050

BOLT

SN: 15686-UP

6шт.

21

01602-02060

WASHER,SPRING

SN: 15686-UP

6шт.

Выбрано товаров: 24