Запчасти Komatsu D155C-1P-ZZ КРЫШКИ ГУСЕНИЦЫ

Схема запчастей Komatsu D155C-1P-ZZ - КРЫШКИ ГУСЕНИЦЫ
FIT
1:1
100%

Артикул

Название

Примечание

Количество

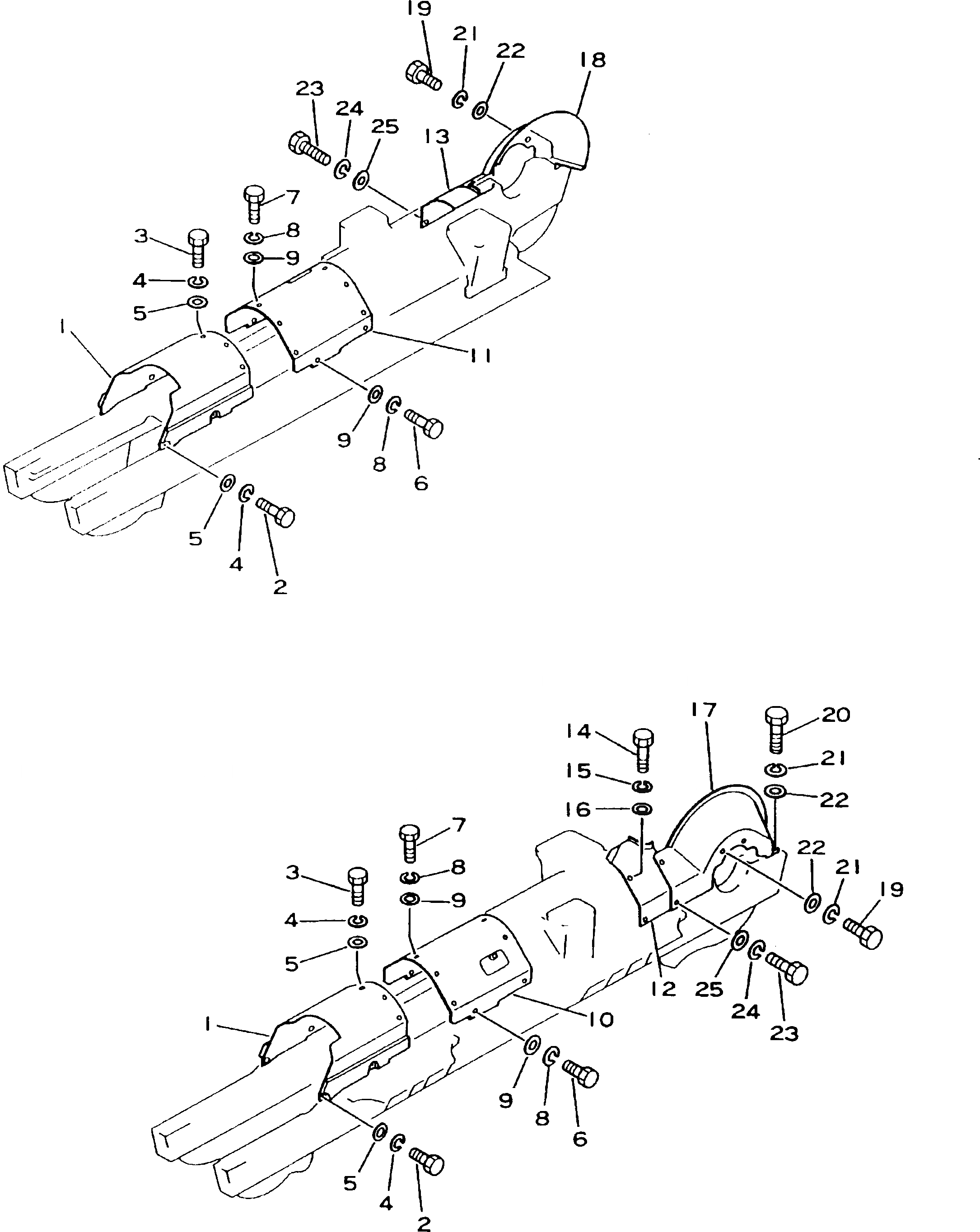
1

176-30-47111

COVER¤L.H.

SN: 15686-UP

2шт.

2

01010-81430

BOLT

SN: 15686-UP

8шт.

3

01010-81435

BOLT

SN: 15686-UP

8шт.

4

01602-01442

WASHER,SPRING

SN: 15686-21738

16шт.

5

01643-31445

WASHER

SN: 15686-UP

16шт.

6

01010-81430

BOLT

SN: 15686-UP

12шт.

7

01010-81435

BOLT

SN: 15686-UP

6шт.

8

01602-01442

WASHER,SPRING

SN: 15686-21738

18шт.

9

01643-31445

WASHER

SN: 15686-UP

18шт.

10

176-30-47131

COVER ASS'Y,L.H.

SN: 15686-UP

1шт.

|10

176-30-47141

COVER¤L.H.

SN: 15686-UP

1шт.

|10

01590-11215

NUT

SN: 15686-UP

1шт.

|10

01642-01216

WASHER

SN: 15686-UP

1шт.

|10

04050-13025

PIN,COTTER

SN: 15686-UP

1шт.

|10

195-09-18140

BOLT

SN: 15686-UP

1шт.

11

176-30-47151

COVER ASS'Y R.H,R.H.

SN: 15686-UP

1шт.

|11

176-30-47161

COVER¤R.H.

SN: 15686-UP

1шт.

|11

01590-11215

NUT

SN: 15686-UP

1шт.

|11

01642-21216

WASHER

SN: 15686-UP

1шт.

|11

04050-13025

PIN,COTTER

SN: 15686-UP

1шт.

|11

195-09-18140

BOLT

SN: 15686-UP

1шт.

12

176-30-47180

COVER¤L.H.

SN: 15686-UP

1шт.

13

176-30-47190

COVER¤R.H.

SN: 15686-UP

1шт.

14

01010-81440

BOLT

SN: 15686-UP

4шт.

15

01602-01442

WASHER,SPRING

SN: 15686-21738

4шт.

16

01643-31445

WASHER

SN: 15686-UP

4шт.

17

175-30-52150

COVER,L.H.

SN: 31416-UP

1шт.

|17

0

COVER,L.H.

SN: 15686-31415

1шт.

18

175-30-52160

COVER,R.H.

SN: 31416-UP

1шт.

|18

0

COVER,R.H.

SN: 15686-31415

1шт.

19

01010-81630

BOLT

SN: 21739-UP

4шт.

|19

0

BOLT

SN: 15686-21738

4шт.

20

01010-81650

BOLT

SN: 15686-UP

4шт.

21

01602-01648

WASHER,SPRING

SN: 15686-21738

8шт.

22

01643-31645

WASHER

SN: 15686-UP

8шт.

23

01010-81440

BOLT

SN: 15686-UP

4шт.

24

01602-01442

WASHER,SPRING

SN: 15686-21738

4шт.

25

01643-31445

WASHER

SN: 15686-UP

4шт.

Выбрано товаров: 38