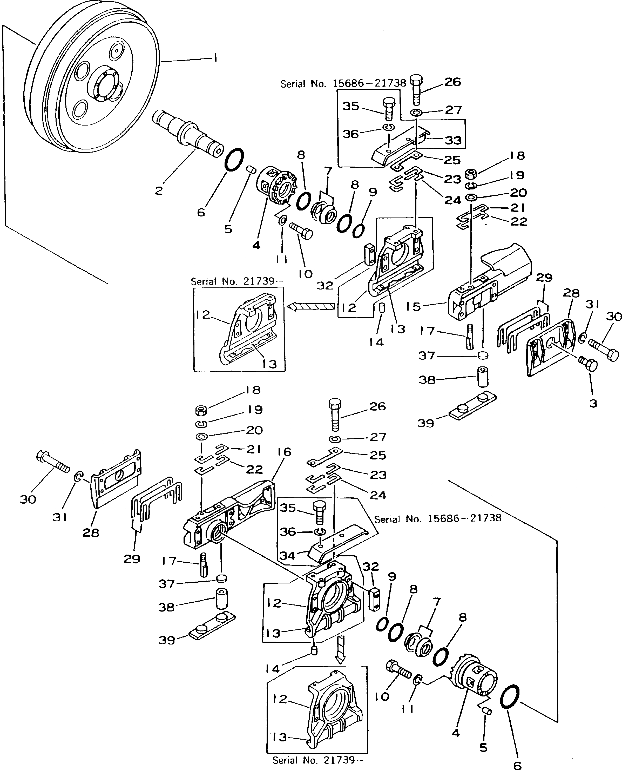
Запчасти Komatsu D155C-1P-ZZ ПЕРЕДН. ЛЕНИВЕЦ ГУСЕНИЦЫ

Схема запчастей Komatsu D155C-1P-ZZ - ПЕРЕДН. ЛЕНИВЕЦ ГУСЕНИЦЫ
FIT
1:1
100%

Артикул

Название

Примечание

Количество

|1

176-30-00133

FRONT IDLER ASS

SN: 21739-UP

2шт.

|1

0

FRONT IDLER ASS'Y,FRONT

SN: 15686-21738

2шт.

1

175-30-23114

IDLER

SN: 15686-UP

1шт.

2

175-30-23121

SHAFT

SN: 15686-UP

1шт.

3

07052-31624

PLUG

SN: 15686-UP

1шт.

4

176-30-00080

BUSHING ASS'Y

SN: 15686-UP

2шт.

5

176-30-16150

PIN,DOWEL

SN: 15686-UP

2шт.

6

07000-02130

O-RING

SN: 15686-UP

2шт.

6

175-30-00701

FLOATING SEAL ASS'Y

SN: 21739-UP

2шт.

|6

0

FLOATING SEAL ASS'Y

SN: 15686-21738

2шт.

|6

175-30-00691

SEAL RING ASS'Y

SN: 21739-UP

1шт.

|6

0

SEAL RING ASS'Y

SN: 15686-21738

1шт.

7

0

RING

SN: 21739-UP

2шт.

|7

0

RING

SN: 15686-21738

2шт.

|7

175-30-00580

O-RING ASS'Y

SN: 15686-UP

1шт.

8

0

O-RING

SN: 15686-UP

2шт.

9

07000-03068

O-RING

SN: 15686-UP

2шт.

10

01010-81235

BOLT

SN: 15686-UP

12шт.

11

01643-31232

WASHER

SN: 21739-UP

12шт.

|11

0

WASHER,SPRING

SN: 15686-21738

12шт.

|12

175-30-33273

GUIDE ASS'Y

SN: 23457-UP

2шт.

|12

175-30-33272

GUIDE ASS'Y

SN: 21739-23456

2шт.

|12

175-30-33271

GUIDE ASS'Y

SN: 15686-21738

2шт.

12

0

GUIDE

SN: 21739-UP

1шт.

|12

0

GUIDE

SN: 15686-21738

1шт.

13

175-30-33290

PLATE (WELDED)

SN: 21739-UP

1шт.

|13

170-30-13343

PLATE (WELDED)

SN: 15686-21738

1шт.

14

04020-01228

PIN,DOWEL (WELDED)

SN: 15686-UP

2шт.

15

176-30-43111

SUPPORT,L.H.

SN: 15686-UP

1шт.

16

176-30-43121

SUPPORT,R.H.

SN: 15686-UP

1шт.

17

175-30-23172

BOLT

SN: 15686-UP

2шт.

18

175-30-23180

NUT

SN: 15686-UP

2шт.

19

01602-01648

WASHER,SPRING

SN: 15686-21738

2шт.

20

01643-31645

WASHER

SN: 21739-UP

2шт.

|20

0

WASHER

SN: 15686-21738

2шт.

|21

175-30-05050

SHIM KIT

SN: 15686-UP

2шт.

21

0

SHIM¤ 1.0MM

SN: 15686-UP

4шт.

22

0

SHIM¤ 2.0MM

SN: 15686-UP

2шт.

|23

175-30-05060

SHIM KIT

SN: 15686-UP

2шт.

23

0

SHIM¤ 1.0MM

SN: 15686-UP

8шт.

24

0

SHIM¤ 2.0MM

SN: 15686-UP

4шт.

25

175-30-33460

PLATE

SN: 15686-UP

2шт.

26

175-30-33492

BOLT

SN: 15686-UP

4шт.

27

01643-32060

WASHER

SN: 21739-UP

4шт.

|27

0

WASHER,SPRING

SN: 15686-21738

4шт.

28

175-30-33214

PLATE

SN: 15686-UP

2шт.

29

175-30-05070

SHIM KIT

SN: 15686-UP

2шт.

|29

0

SHIM¤ 1.0MM

SN: 15686-UP

6шт.

|29

0

SHIM¤ 0.5MM

SN: 15686-UP

1шт.

30

01011-32260

BOLT

SN: 15686-UP

8шт.

31

01602-02268

WASHER,SPRING

SN: 15686-UP

8шт.

32

175-30-33430

SEAT

SN: 15686-UP

4шт.

33

175-30-33471

COVER,L.H.

SN: 15686-21738

1шт.

34

175-30-33481

COVER,R.H.

SN: 15686-21738

1шт.

35

01010-31635

BOLT

SN: 15686-21738

4шт.

36

01602-01648

WASHER,SPRING

SN: 15686-21738

4шт.

37

195-30-17960

SEAT,SPRING

SN: 15686-UP

8шт.

38

155-30-13230

SPRING

SN: 15686-UP

8шт.

39

175-30-24131

SEAT,SPRING

SN: 15686-UP

4шт.

Выбрано товаров: 59