Запчасти Komatsu D155C-1P-ZZ КАПОТ И ЧАСТИ КОРПУСА (РАДИАТОР РЕШЕТКА) ЧАСТИ КОРПУСА

Схема запчастей Komatsu D155C-1P-ZZ - КАПОТ И ЧАСТИ КОРПУСА (РАДИАТОР РЕШЕТКА) ЧАСТИ КОРПУСА
FIT
1:1
100%

Артикул

Название

Примечание

Количество

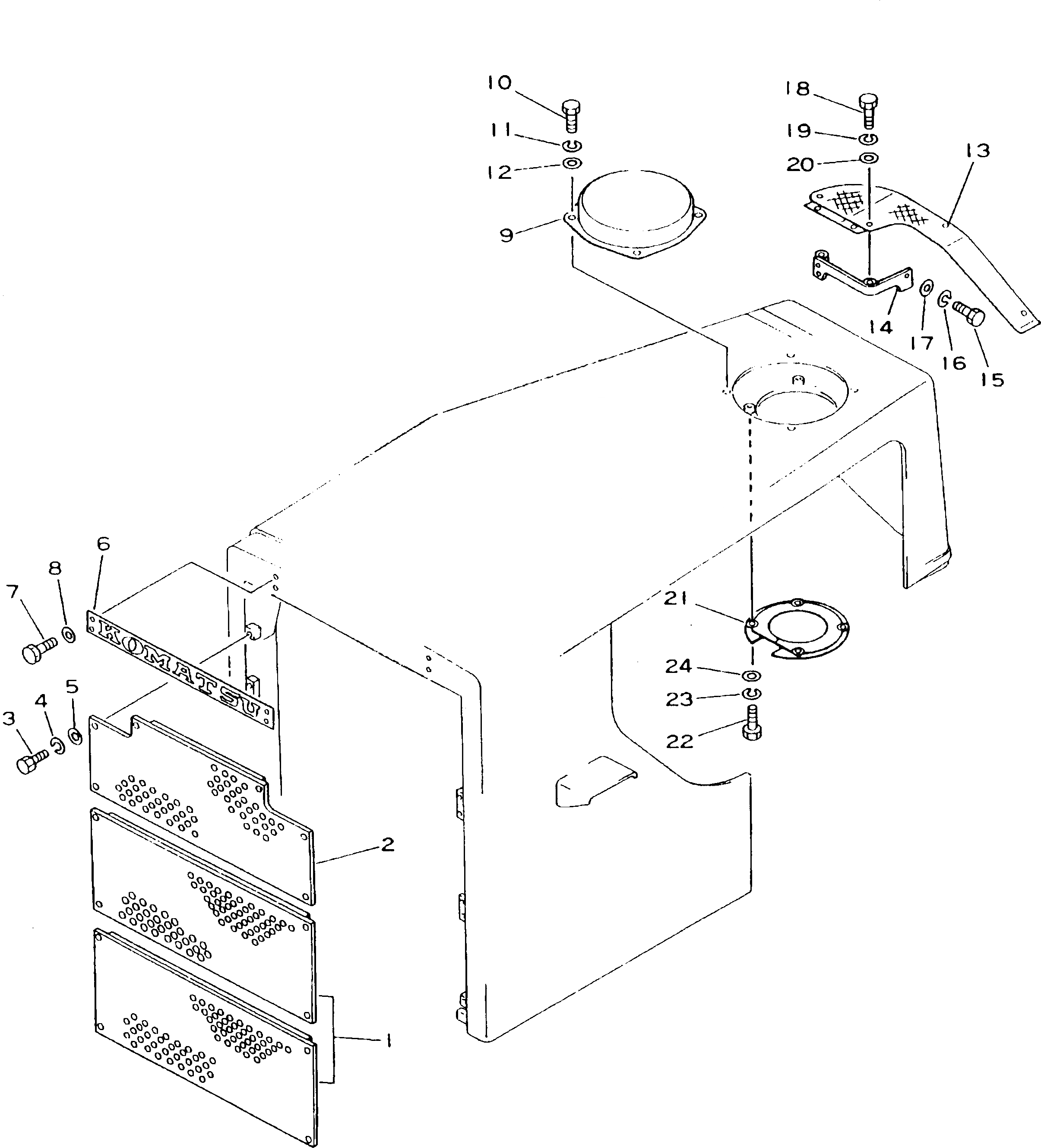
1

176-54-41490

GRILL

SN: 15686-UP

2шт.

2

176-54-41510

GRILL

SN: 15686-UP

1шт.

3

01010-81230

BOLT

SN: 15686-UP

14шт.

4

01602-01236

WASHER

SN: 15686-21738

14шт.

5

01643-31232

WASHER

SN: 15686-UP

14шт.

6

176-54-41521

MARK

SN: 31177-UP

1шт.

|6

176-54-41520

MARK

SN: 15686-31176

1шт.

7

175-54-41420

SCREW

SN: 15686-UP

4шт.

8

175-54-41430

WASHER

SN: 15686-UP

4шт.

9

175-862-3530

COVER

SN: 15686-UP

1шт.

10

01010-81020

BOLT

SN: 15686-UP

4шт.

11

01602-21030

WASHER

SN: 15686-UP

4шт.

12

01643-31032

WASHER

SN: 15686-UP

4шт.

13

176-54-46132

COVER

SN: 15686-UP

1шт.

14

176-54-46120

BRACKET

SN: 15686-UP

1шт.

15

01010-81230

BOLT

SN: 15686-UP

4шт.

16

01602-01236

WASHER

SN: 15686-21738

4шт.

17

01643-31232

WASHER

SN: 15686-UP

4шт.

18

01010-81220

BOLT

SN: 21739-UP

4шт.

|18

0

BOLT

SN: 15686-21738

4шт.

19

01643-31232

WASHER

SN: 21739-UP

4шт.

|19

0

WASHER

SN: 15686-21738

4шт.

20

01643-31232

WASHER

SN: 15686-UP

4шт.

21

175-54-21681

COVER

SN: 15686-UP

1шт.

22

01010-30820

BOLT

SN: 15686-UP

4шт.

23

01602-00825

WASHER

SN: 15686-UP

4шт.

24

0

WASHER

SN: 15686-UP

4шт.

Выбрано товаров: 27