Запчасти Komatsu D155C-1P-ZZ СИДЕНЬЕ ОПЕРАТОРА(№7-) ЧАСТИ КОРПУСА

Схема запчастей Komatsu D155C-1P-ZZ - СИДЕНЬЕ ОПЕРАТОРА(№7-) ЧАСТИ КОРПУСА
FIT
1:1
100%

Артикул

Название

Примечание

Количество

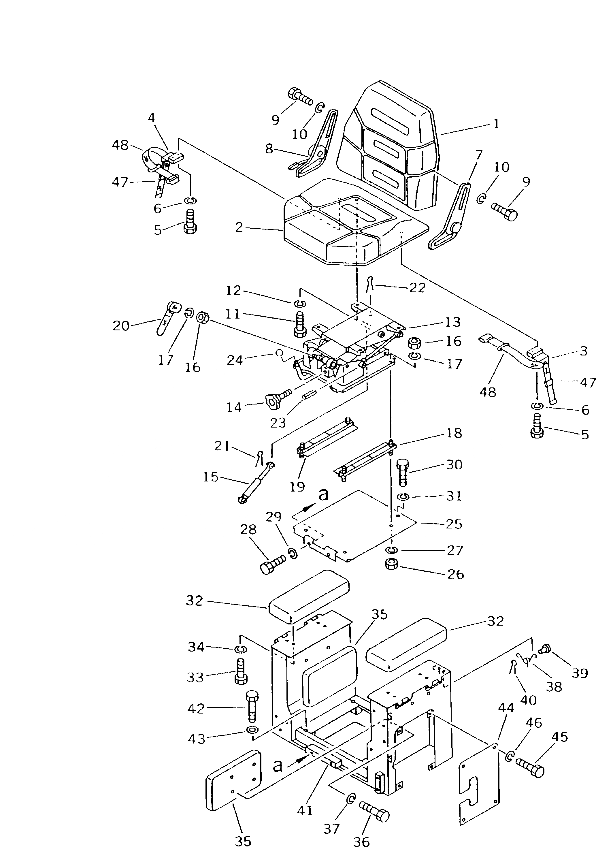
1

195-57-21231

SEAT

SN: 31271-31415

1шт.

2

195-57-21241

SEAT

SN: 31271-31415

1шт.

3

195-57-21250

BRACKET,L.H.

SN: 31271-31415

1шт.

4

195-57-21260

BRACKET,R.H.

SN: 31271-31415

1шт.

5

01010-51040

BOLT

SN: 31271-31415

4шт.

6

01602-21030

WASHER,SPRING

SN: 31271-31415

4шт.

7

155-57-12182

BRACKET

SN: 31271-31415

1шт.

8

155-57-12191

LEVER

SN: 31271-31415

1шт.

9

01010-51020

BOLT

SN: 31271-31415

8шт.

10

01602-21030

WASHER,SPRING

SN: 31271-31415

8шт.

11

01010-31020

BOLT

SN: 15686-31415

4шт.

12

01602-01030

WASHER,SPRING

SN: 15686-31415

4шт.

13

195-57-21180

SUSPENSION ASS'Y

SN: 31271-31415

1шт.

14

155-57-12320

KNOB

SN: 15686-31415

1шт.

15

155-57-12330

DAMPER

SN: 15686-31415

1шт.

16

01580-11210

NUT

SN: 31271-31415

5шт.

17

01602-21236

WASHER,SPRING

SN: 31271-31415

5шт.

18

01602-01236

WASHER

SN: 31271-31415

1шт.

19

195-57-21221

ADJUSTER

SN: 31271-31415

1шт.

20

195-57-21190

LEVER

SN: 31271-31415

1шт.

21

04050-13015

PIN,COTTER

SN: 31271-31415

2шт.

22

04050-14025

PIN,COTTER

SN: 31271-31415

2шт.

23

04025-00432

PIN,SPRING

SN: 31271-31415

7шт.

24

09304-00835

KNOB

SN: 31271-31415

1шт.

25

176-57-41151

COVER

SN: 31271-31415

1шт.

26

01580-01210

NUT

SN: 15686-@

4шт.

27

01602-01236

WASHER,SPRING

SN: 15686-@

4шт.

28

01010-31225

BOLT

SN: 15686-@

2шт.

29

01602-01236

WASHER,SPRING

SN: 15686-@

2шт.

30

01010-31230

BOLT

SN: 15686-@

2шт.

31

01602-01232

WASHER,SPRING

SN: 15686-@

2шт.

32

195-875-2141

REST,ARM

SN: 15686-@

2шт.

33

01010-30825

BOLT

SN: 15686-@

8шт.

34

01602-00825

WASHER,SPRING

SN: 15686-@

8шт.

35

195-875-2130

CUSHION,SIDE

SN: 15686-@

2шт.

36

01010-30825

BOLT

SN: 15686-@

8шт.

37

01602-00825

WASHER,SPRING

SN: 15686-@

8шт.

38

09463-00002

SPRING,L.H.

SN: 15686-@

1шт.

|38

09463-00006

SPRING,R.H.

SN: 15686-@

1шт.

39

04205-00616

PIN

SN: 15686-@

4шт.

40

04050-01610

PIN,COTTER

SN: 15686-@

4шт.

41

176-57-41112

CASE

SN: 15686-@

1шт.

|41

176-57-41180

CASE,(FOR MOUNTING SEAT BELT)

SN: 15686-@

1шт.

42

01010-31485

BOLT

SN: 15686-@

4шт.

43

01643-31445

WASHER

SN: 15686-@

4шт.

44

176-57-41121

COVER

SN: 15686-@

1шт.

45

01010-30820

BOLT

SN: 15686-@

4шт.

46

01602-00825

WASHER,SPRING

SN: 15686-@

4шт.

47

09409-20000

BELT¤ TETHER

SN: 15686-@

2шт.

48

09409-10001

BELT¤ LAP

SN: 15686-31415

1шт.

Выбрано товаров: 50