Запчасти Komatsu D355C-3 КОРПУС ЛИНИИ И АККУМУЛЯТОР (МОРОЗОУСТОЙЧИВ. СПЕЦ-Я (A) СПЕЦ-Я.) (C)(№9-) ЧАСТИ КОРПУСА

Схема запчастей Komatsu D355C-3 - КОРПУС ЛИНИИ И АККУМУЛЯТОР (МОРОЗОУСТОЙЧИВ. СПЕЦ-Я (A) СПЕЦ-Я.) (C)(№9-) ЧАСТИ КОРПУСА
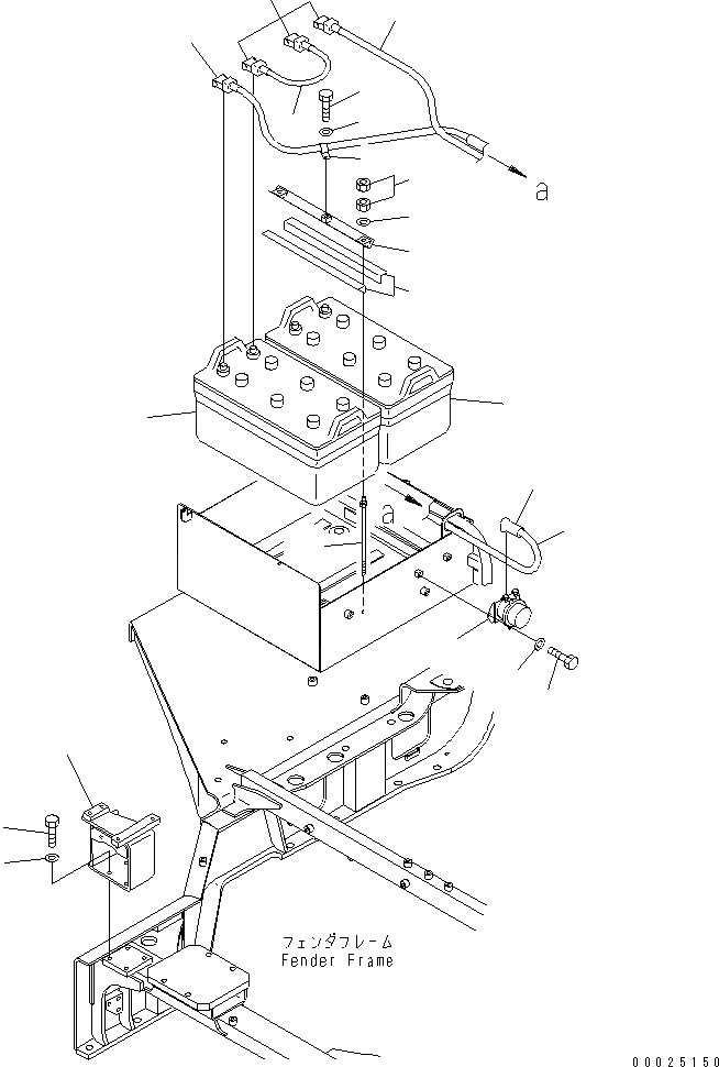
1
2
3
4
4
5
6
7
8
9
10
11
11
12
13
14
15
16
17
18
19
20
FIT
1:1
100%

Артикул

Название

Примечание

Количество

1

196-61-11240

BRACKET

SN: 14449-UP

1шт.

2

01010-81225

BOLT

SN: 14449-UP

4шт.

3

01643-31232

WASHER

SN: 14449-UP

4шт.

4

08000-02221

BATTERY, WET(C200),NS200 WET

SN: 14449-UP

2шт.

4

08000-00000

TERMINAL, (+)

SN: 14449-UP

2шт.

4

08000-00001

TERMINAL, (-)

SN: 14449-UP

2шт.

5

08028-65045

WIRE, 450MM

SN: 14449-UP

1шт.

6

08038-22511

CAP

SN: 14449-UP

1шт.

7

08038-42511

CAP

SN: 14449-UP

3шт.

8

04434-51812

CLIP

SN: 14449-UP

3шт.

9

01010-81020

BOLT

SN: 14449-UP

2шт.

10

01643-31032

WASHER

SN: 14449-UP

2шт.

11

08028-45085

CABLE

SN: 14449-UP

1шт.

12

08088-10000

SWITCH

SN: 14449-UP

1шт.

13

01010-80816

BOLT

SN: 14449-UP

2шт.

14

01643-30823

WASHER

SN: 14449-UP

2шт.

15

154-06-13130

CAP

SN: 14449-UP

1шт.

16

195-06-41130

ROD

SN: 14449-UP

2шт.

17

195-06-41140

PLATE

SN: 14449-UP

2шт.

18

176-06-42261

RETAINER

SN: 14449-UP

1шт.

19

01582-11008

NUT

SN: 14449-UP

4шт.

20

01643-31032

WASHER

SN: 14449-UP

2шт.

Выбрано товаров: 22