Запчасти Komatsu D355C-3 МАСЛЯНЫЙ ФИЛЬТР(№9-) СИСТЕМАУПРАВЛЕНИЯ ПОВОРОТОМ И КОНЕЧНАЯ ПЕРЕДАЧА

Схема запчастей Komatsu D355C-3 - МАСЛЯНЫЙ ФИЛЬТР(№9-) СИСТЕМАУПРАВЛЕНИЯ ПОВОРОТОМ И КОНЕЧНАЯ ПЕРЕДАЧА
FIT
1:1
100%

Артикул

Название

Примечание

Количество

|$0

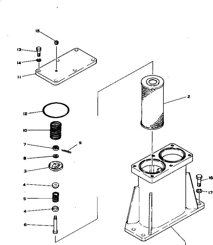
196-49-00020

FILTER ASS'Y

SN: 3259-UP

1шт.

1

196-49-11180

CASE

SN: 3259-UP

1шт.

2

175-49-11580

ELEMENT

SN: 3259-UP

2шт.

3

175-43-14150

CAGE

SN: 3259-UP

2шт.

4

170-14-18171

SLEEVE

SN: 3259-UP

4шт.

5

170-14-18161

SPRING

SN: 3259-UP

2шт.

6

145-49-12460

BOLT

SN: 3259-UP

2шт.

7

01590-00607

NUT

SN: 3259-UP

2шт.

8

01641-00608

WASHER

SN: 3259-UP

2шт.

9

04050-01215

PIN,COTTER

SN: 3259-UP

2шт.

10

6003200-4-40

SPRING

SN: 3259-UP

2шт.

11

195-49-11421

COVER

SN: 3259-UP

1шт.

12

07000-03120

O-RING

SN: 3259-UP

2шт.

13

01010-81235

BOLT

SN: 3259-UP

6шт.

14

01643-31232

WASHER

SN: 3259-UP

6шт.

15

07042-00108

PLUG,TAPER

SN: 3259-UP

1шт.

16

01010-61640

BOLT

SN: 3259-UP

4шт.

17

01643-31645

WASHER

SN: 7529-UP

4шт.

17

0

WASHER

SN: 3259-7528

4шт.

Выбрано товаров: 0