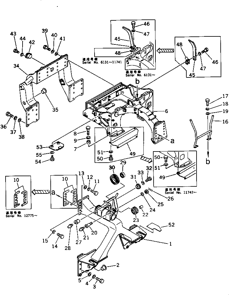
Запчасти Komatsu D355C-3 РАМА(№9-) УПРАВЛ-Е РАБОЧИМ ОБОРУДОВАНИЕМ

Схема запчастей Komatsu D355C-3 - РАМА(№9-) УПРАВЛ-Е РАБОЧИМ ОБОРУДОВАНИЕМ
FIT
1:1
100%

Артикул

Название

Примечание

Количество

1

196-71-00070

FRAME ASS'Y

SN: 13972-UP

1шт.

1

0

FRAME ASS'Y

SN: 4001-13971

1шт.

1

196-71-00010

FRAME ASS'Y

SN: 3259-4000

1шт.

2

196-71-11210

BUSHING

SN: 3259-UP

4шт.

3

01018-33095

BOLT

SN: 7529-UP

16шт.

3

0

BOLT

SN: 3259-7528

16шт.

4

01601-03075

WASHER

SN: 3259-7528

16шт.

5

01643-33080

WASHER

SN: 3259-UP

16шт.

6

196-71-21123

FRAME

SN: 6131-UP

1шт.

6

196-71-21122

FRAME

SN: 4001-6130

1шт.

6

196-71-11120

FRAME

SN: 3259-4000

1шт.

7

196-71-11190

COLLAR

SN: 3259-UP

18шт.

8

01019-23020

BOLT

SN: 3259-UP

18шт.

9

01643-33080

WASHER

SN: 7529-UP

18шт.

9

0

WASHER

SN: 3259-7528

18шт.

10

196-71-00031

SHIM ASS'Y

SN: 12775-UP

1шт.

10

0

SHIM ASS'Y

SN: 3259-12774

1шт.

11

01018-02485

BOLT

SN: 7529-UP

8шт.

11

0

BOLT

SN: 3259-7528

8шт.

12

01602-02472

WASHER

SN: 3259-7528

8шт.

13

01643-32460

WASHER

SN: 3259-UP

8шт.

14

01010-31235

BOLT

SN: 3259-UP

2шт.

15

01643-31232

WASHER

SN: 7529-UP

2шт.

15

0

WASHER

SN: 3259-7528

2шт.

16

196-71-11230

GUARD

SN: 3259-UP

1шт.

17

01010-32460

BOLT

SN: 7529-UP

2шт.

17

0

BOLT

SN: 3259-7528

2шт.

18

01602-02472

WASHER

SN: 3259-7528

2шт.

19

01643-32460

WASHER

SN: 3259-UP

1шт.

20

176-71-41190

SHAFT

SN: 3259-UP

1шт.

21

07020-00000

FITTING,GREASE

SN: 3259-UP

1шт.

22

176-71-41180

BUSHING

SN: 3259-UP

1шт.

23

176-71-41170

SHEAVE

SN: 3259-UP

1шт.

24

01643-33690

WASHER

SN: 3259-UP

1шт.

25

01590-03638

NUT

SN: 3259-UP

1шт.

26

04050-06065

PIN,COTTER

SN: 3259-UP

1шт.

27

176-71-41210

SHAFT

SN: 3259-UP

1шт.

28

07020-00000

FITTING,GREASE

SN: 3259-UP

1шт.

29

176-70-11530

BEARING

SN: 4001-UP

1шт.

29

0

BEARING

SN: 3259-4000

1шт.

30

176-70-11540

SHEAVE

SN: 3259-UP

1шт.

31

176-71-41220

HOLDER

SN: 3259-UP

1шт.

32

01010-51645

BOLT

SN: 3259-UP

2шт.

33

01643-31645

WASHER

SN: 7529-UP

2шт.

33

0

WASHER

SN: 3259-7528

2шт.

34

196-71-00050

FRAME ASS'Y

SN: 4001-UP

1шт.

34

196-71-00020

FRAME ASS'Y

SN: 3259-4000

1шт.

35

196-71-11220

BUSHING

SN: 3259-UP

4шт.

36

01018-33095

BOLT

SN: 7529-UP

16шт.

36

0

BOLT

SN: 3259-7528

16шт.

37

01601-03075

WASHER

SN: 3259-7528

16шт.

38

01643-33080

WASHER

SN: 3259-UP

16шт.

39

01018-02485

BOLT

SN: 7529-UP

12шт.

39

0

BOLT

SN: 3259-7528

12шт.

40

01602-02472

WASHER

SN: 3259-7528

12шт.

41

01643-32460

WASHER

SN: 3259-UP

12шт.

42

176-71-41230

PIN

SN: 3259-UP

1шт.

43

01010-31440

BOLT

SN: 4001-UP

2шт.

44

01643-31445

WASHER

SN: 7529-UP

2шт.

44

01602-01442

WASHER

SN: 3259-7528

2шт.

45

176-71-11361

PLATE

SN: 6131-UP

1шт.

45

176-71-11360

PLATE

SN: 4001-6130

1шт.

45

176-71-11136

PLATE

SN: 3259-4000

1шт.

46

01010-32460

BOLT

SN: 6131-UP

2шт.

46

01010-32480

BOLT

SN: 3259-6130

2шт.

47

01643-32460

WASHER

SN: 6131-UP

2шт.

48

196-71-11371

SHIM

SN: 6131-11741

1шт.

48

176-71-00050

SHIM ASS'Y

SN: 3259-6130

2шт.

49

196-71-11242

COVER

SN: 11742-UP

1шт.

49

196-71-11241

COVER

SN: 4001-11741

1шт.

49

0

SPRING

SN: 3259-4000

2шт.

50

01010-31235

BOLT

SN: 3259-UP

4шт.

51

01643-31232

WASHER

SN: 3259-UP

4шт.

52

196-71-21160

SEAT

SN: 3259-UP

1шт.

53

176-71-41370

COVER

SN: 3259-UP

1шт.

54

01010-31230

BOLT

SN: 3259-UP

2шт.

55

01643-31232

WASHER

SN: 7529-UP

2шт.

55

0

WASHER

SN: 3259-7528

2шт.

Выбрано товаров: 78