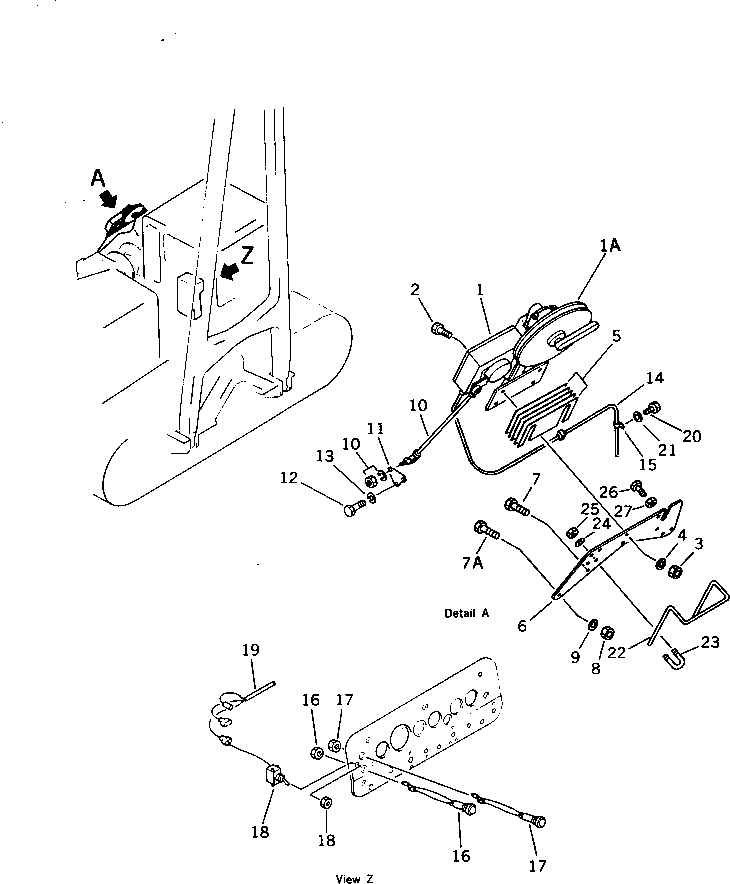
Запчасти Komatsu D355C-3 ОГРАНИЧИТЕЛЬ МОМЕНТА (ОПЦИОННЫЕ КОМПОНЕНТЫ)(№-) УПРАВЛ-Е РАБОЧИМ ОБОРУДОВАНИЕМ

Схема запчастей Komatsu D355C-3 - ОГРАНИЧИТЕЛЬ МОМЕНТА (ОПЦИОННЫЕ КОМПОНЕНТЫ)(№-) УПРАВЛ-Е РАБОЧИМ ОБОРУДОВАНИЕМ
FIT
1:1
100%

Артикул

Название

Примечание

Количество

1

196-70-17110

INDICATOR

SN: 4001-UP

1шт.

1

196-70-29110

INDICATOR,(FOR 10M BOOM)

SN: 12626-UP

1шт.

1

196-70-17350

LIMITER,(FOR POLISH)

SN: 13006-UP

1шт.

1A

19E-600-16R1

PULLEY,(YAMATO)

SN: 13006-UP

1шт.

2

01018-01645

BOLT

SN: 4001-UP

4шт.

3

01580-01613

NUT

SN: 4001-UP

4шт.

4

01643-31645

WASHER

SN: 4001-UP

4шт.

5

196-70-17250

SHIM, 1.2MM

SN: 11742-UP

3шт.

5

196-70-17250

SHIM, 1.2MM

SN: 4001-11741

5шт.

6

196-70-17130

PLATE

SN: 4001-UP

1шт.

7

176-70-46140

BOLT

SN: 6131-UP

2шт.

7

176-70-46140

BOLT

SN: 4001-6130

4шт.

7A

01010-82050

BOLT

SN: 6131-UP

2шт.

8

01580-02016

NUT

SN: 4001-UP

4шт.

9

01643-32060

WASHER

SN: 4001-UP

4шт.

10

196-70-17120

ROD

SN: 4001-UP

1шт.

11

196-70-17140

PLATE

SN: 4001-UP

1шт.

12

01010-81030

BOLT

SN: 4001-UP

2шт.

13

01602-01030

WASHER

SN: 4001-UP

2шт.

14

196-70-17150

WIRE ASS'Y

SN: 4001-UP

1шт.

15

196-70-17230

CLIP

SN: 4001-UP

3шт.

16

08147-22402

LAMP,(INDICATOR)

SN: 4001-UP

1шт.

16

08111-02430

BULB, 3W

SN: 4001-UP

1шт.

17

08147-22400

LAMP,(INDICATOR)

SN: 4001-UP

1шт.

17

08111-02430

BULB, 3W

SN: 4001-UP

1шт.

18

195-06-22140

SWITCH

SN: 4001-UP

1шт.

19

196-70-17221

WIRE

SN: 4001-UP

1шт.

20

01010-81220

BOLT

SN: 4001-UP

1шт.

21

01643-31232

WASHER

SN: 4001-UP

1шт.

22

196-70-17330

BAR

SN: 8364-UP

1шт.

23

07283-21537

CLIP

SN: 8364-UP

2шт.

24

01643-30823

WASHER

SN: 8364-UP

4шт.

25

01598-00809

NUT

SN: 8364-UP

4шт.

26

01016-30825

BOLT

SN: 8364-UP

1шт.

27

01580-10806

NUT

SN: 8364-UP

1шт.

Выбрано товаров: 35