Запчасти Komatsu D355C-3 ЛЕБЕДКА (/9)(№-) УПРАВЛ-Е РАБОЧИМ ОБОРУДОВАНИЕМ

Схема запчастей Komatsu D355C-3 - ЛЕБЕДКА (/9)(№-) УПРАВЛ-Е РАБОЧИМ ОБОРУДОВАНИЕМ
FIT
1:1
100%

Артикул

Название

Примечание

Количество

|$0

176-76-01007

WINCH ASS'Y

SN: 13555-UP

1шт.

|$1

0

WINCH ASS'Y

SN: 8631-13554

1шт.

|$2

0

WINCH ASS'Y

SN: 8364-8630

1шт.

|$3

0

WINCH ASS'Y

SN: 4793-8363

1шт.

|$4

0

WINCH ASS'Y

SN: 4001-4792

1шт.

|$$6

THESE ASSEMBLIES CONSIST OF ALL PARTS SHOWN IN FIGS.1631 -1639,1642-1644,1646A ,1661A,1662A,1666A,1667A,1669A AND 1675.

-1шт.

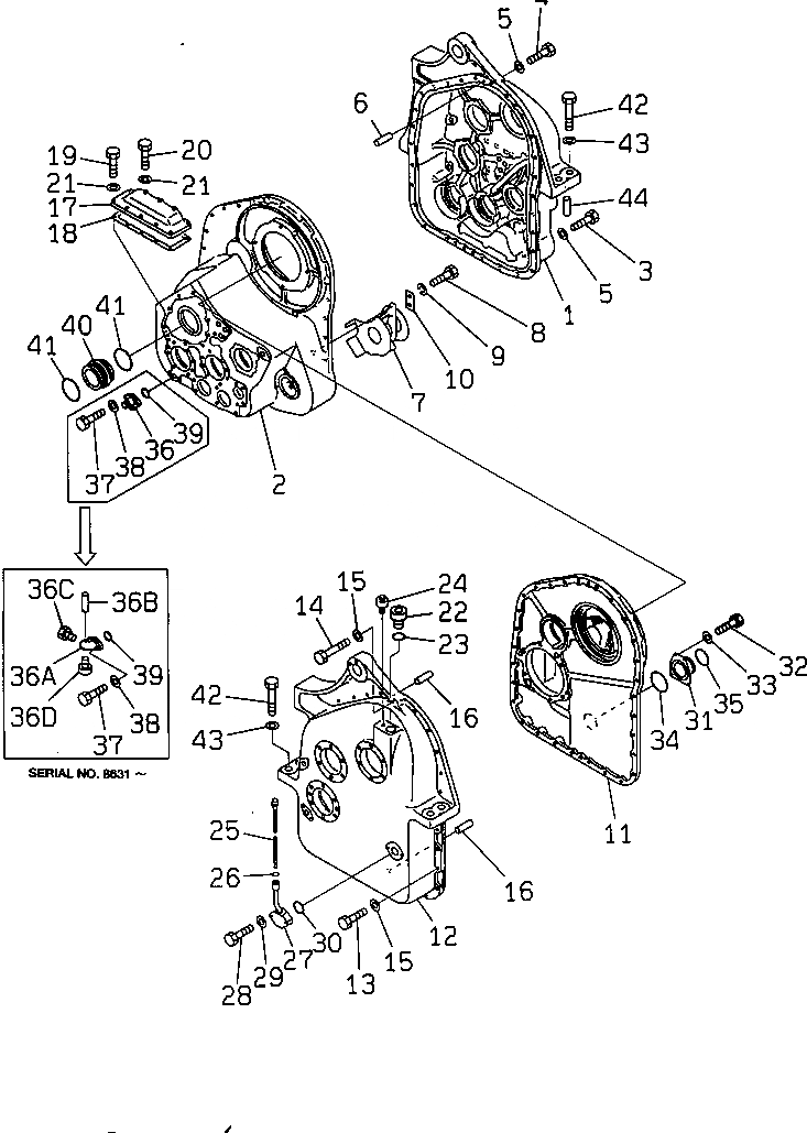
1

176-76-61110

CASE

SN: 4001-UP

1шт.

2

176-76-61160

CASE

SN: 4001-UP

1шт.

3

01010-61655

BOLT

SN: 4001-UP

27шт.

4

01010-61690

BOLT

SN: 4001-UP

1шт.

5

01643-31645

WASHER

SN: 4001-UP

28шт.

6

04020-01638

PIN,DOWEL

SN: 4001-UP

2шт.

7

176-76-61170

BRACKET

SN: 4001-UP

1шт.

8

01010-81020

BOLT

SN: 4001-UP

4шт.

9

01602-01030

WASHER

SN: 4001-UP

4шт.

10

04081-05012

LOCK

SN: 4001-UP

2шт.

11

176-76-61140

CASE

SN: 4001-UP

1шт.

12

176-76-61150

CASE

SN: 4001-UP

1шт.

13

01010-61655

BOLT

SN: 4001-UP

28шт.

14

01010-61690

BOLT

SN: 4001-UP

1шт.

15

01643-31645

WASHER

SN: 4001-UP

29шт.

16

04020-01638

PIN,DOWEL

SN: 4001-UP

2шт.

17

176-76-61220

COVER

SN: 4001-UP

1шт.

18

176-76-61231

GASKET

SN: 13555-UP

1шт.

18

0

GASKET

SN: 4001-13554

1шт.

19

01010-81035

BOLT

SN: 4001-UP

7шт.

20

01010-81080

BOLT

SN: 4001-UP

3шт.

21

01643-31032

WASHER

SN: 4001-UP

10шт.

22

07040-04220

PLUG

SN: 4001-UP

1шт.

23

07002-44234

O-RING

SN: 4001-UP

1шт.

24

07030-10252

BREATHER

SN: 4001-UP

1шт.

25

113-15-18151

GAUGE

SN: 4001-UP

1шт.

26

07002-42434

O-RING

SN: 4001-UP

2шт.

27

176-76-61260

TUBE

SN: 4001-UP

1шт.

28

01010-81050

BOLT

SN: 4001-UP

2шт.

29

01643-31032

WASHER

SN: 4001-UP

2шт.

30

07000-42075

O-RING

SN: 4001-UP

1шт.

31

176-76-61250

TUBE

SN: 4001-UP

1шт.

32

01010-81030

BOLT

SN: 4001-UP

4шт.

33

01643-31032

WASHER

SN: 4001-UP

4шт.

34

07000-42110

O-RING

SN: 4001-UP

1шт.

35

07000-42100

O-RING

SN: 4001-UP

1шт.

36

196-76-13100

VALVE ASS'Y

SN: 8631-UP

1шт.

36

0

VALVE ASS'Y

SN: 4001-8630

1шт.

36A

196-76-13110

ELBOW

SN: 8631-UP

1шт.

36B

04020-00514

PIN,DOWEL

SN: 8631-UP

1шт.

36C

6693-22-5620

VALVE

SN: 8631-UP

1шт.

36D

07040-12414

PLUG

SN: 8631-UP

1шт.

37

01010-81030

BOLT

SN: 4001-UP

2шт.

38

01643-31032

WASHER

SN: 4001-UP

2шт.

39

07000-43028

O-RING

SN: 4001-UP

1шт.

40

176-7661240

GULDE

SN: 4001-UP

1шт.

41

07000-42140

O-RING

SN: 4001-UP

2шт.

42

01011-63951

BOLT

SN: 4001-UP

8шт.

43

01643-33990

WASHER

SN: 4001-UP

8шт.

44

04020-01842

PIN,DOWEL

SN: 4001-UP

8шт.

Выбрано товаров: 0