Запчасти Komatsu D355C-3 ЛЕБЕДКА (7/9)(№-) УПРАВЛ-Е РАБОЧИМ ОБОРУДОВАНИЕМ

Схема запчастей Komatsu D355C-3 - ЛЕБЕДКА (7/9)(№-) УПРАВЛ-Е РАБОЧИМ ОБОРУДОВАНИЕМ
FIT
1:1
100%

Артикул

Название

Примечание

Количество

|$0

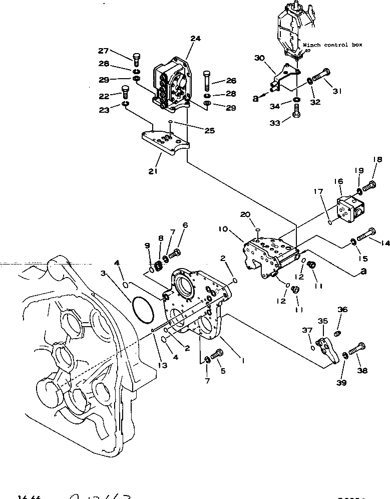
176-76-01007

WINCH ASS'Y

SN: 13555-UP

1шт.

|$1

0

WINCH ASS'Y

SN: 8631-13554

1шт.

|$2

0

WINCH ASS'Y

SN: 8364-8630

1шт.

|$3

0

WINCH ASS'Y

SN: 4793-8363

1шт.

|$4

0

WINCH ASS'Y

SN: 4001-4792

1шт.

|$$6

THESE ASSEMBLIES CONSIST OF ALL PARTS SHOWN IN FIGS.1631 -1639,1642-1644,1646A ,1661A,1662A,1666A,1667A,1669A AND 1675.

-1шт.

1

176-76-62220

VALVE SEAT

SN: 4001-UP

1шт.

2

07000-43028

O-RING

SN: 4001-UP

17шт.

3

07000-45170

O-RING

SN: 4001-UP

1шт.

4

07000-43038

O-RING

SN: 4001-UP

6шт.

5

01010-81045

BOLT

SN: 4001-UP

3шт.

6

01010-81055

BOLT

SN: 4001-UP

2шт.

7

01602-01030

WASHER

SN: 4001-UP

5шт.

8

176-76-62380

FLANGE

SN: 4001-UP

1шт.

9

07000-43035

O-RING

SN: 4001-UP

1шт.

10

176-76-62210

BRACKET

SN: 4001-UP

1шт.

11

07040-12414

PLUG

SN: 4001-UP

2шт.

12

07002-42434

O-RING

SN: 4001-UP

2шт.

13

07000-42012

O-RING

SN: 4001-UP

1шт.

14

01010-81065

BOLT

SN: 4001-UP

8шт.

15

01602-01030

WASHER

SN: 4001-UP

8шт.

16

176-76-21391

VALVE ASS'Y

SN: 4001-UP

1шт.

17

07000-43025

O-RING

SN: 4001-UP

4шт.

18

01010-80840

BOLT

SN: 4001-UP

4шт.

19

01602-00825

WASHER

SN: 4001-UP

4шт.

20

07000-42020

O-RING

SN: 4001-UP

8шт.

21

176-76-62190

VALVE SEAT

SN: 4001-UP

1шт.

22

01010-80845

BOLT

SN: 4001-UP

2шт.

23

01602-00825

WASHER

SN: 4001-UP

2шт.

24

702-11-17001

VALVE ASS'Y

SN: 13555-UP

1шт.

24

702-11-17000

VALVE ASS'Y

SN: 4001-13554

1шт.

25

07000-42020

O-RING

SN: 4001-UP

6шт.

26

01010-81070

BOLT

SN: 4001-UP

3шт.

27

01011-81020

BOLT

SN: 4001-UP

1шт.

28

01602-01030

WASHER

SN: 4001-13904

4шт.

29

01643-31032

WASHER

SN: 4001-UP

4шт.

30

176-76-67120

BRACKET

SN: 4001-UP

1шт.

31

01010-81080

BOLT

SN: 4001-UP

2шт.

32

01643-31032

WASHER

SN: 4001-UP

2шт.

33

01010-31045

BOLT

SN: 4001-UP

2шт.

34

01643-81032

WASHER

SN: 4001-UP

2шт.

35

176-76-62240

COVER

SN: 4001-UP

1шт.

36

07042-10108

PLUG

SN: 4001-UP

1шт.

37

07000-43028

O-RING

SN: 4001-UP

3шт.

38

01010-81075

BOLT

SN: 4001-UP

4шт.

39

01602-01030

WASHER

SN: 4001-UP

4шт.

Выбрано товаров: 46