Запчасти Komatsu D355C-3 РАЗГРУЗ. КЛАПАН(№-) УПРАВЛ-Е РАБОЧИМ ОБОРУДОВАНИЕМ

Схема запчастей Komatsu D355C-3 - РАЗГРУЗ. КЛАПАН(№-) УПРАВЛ-Е РАБОЧИМ ОБОРУДОВАНИЕМ
FIT
1:1
100%

Артикул

Название

Примечание

Количество

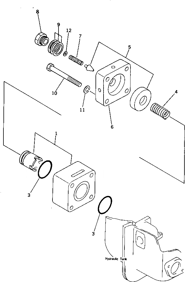
1

154-60-01070

RELIEF VALVE ASS'Y

SN: 5416-UP

1шт.

3

07000-13045

O-RING

SN: 5416-UP

2шт.

4

154-60-11280

SPRING

SN: 5416-UP

1шт.

5

154-60-01160

SEAT ASS'Y

SN: 5416-UP

1шт.

6

154-60-11271

CASE

SN: 5416-UP

1шт.

7

154-60-12520

SPRING

SN: 5416-UP

1шт.

8

154-60-12530

PLUG

SN: 5416-UP

1шт.

9

154-60-01150

SHIM ASS'Y

SN: 5416-UP

1шт.

10

01011-81200

BOLT

SN: 5416-UP

4шт.

11

01602-01236

WASHER

SN: 5416-UP

4шт.

12

154-60-12580

SHIM, 0.2MM

SN: 5416-UP

5шт.

Выбрано товаров: 11