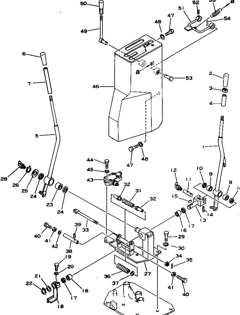
Запчасти Komatsu D355C-3 КРЮК И РЫЧАГ УПРАВЛЕНИЯ ПОДЪЕМОМ-ОПУСК.(№-) УПРАВЛ-Е РАБОЧИМ ОБОРУДОВАНИЕМ

Схема запчастей Komatsu D355C-3 - КРЮК И РЫЧАГ УПРАВЛЕНИЯ ПОДЪЕМОМ-ОПУСК.(№-) УПРАВЛ-Е РАБОЧИМ ОБОРУДОВАНИЕМ
FIT
1:1
100%

Артикул

Название

Примечание

Количество

1

176-76-27441

LEVER,HOOK

SN: 4001-UP

1шт.

2

156-76-32110

KNOB

SN: 4001-UP

1шт.

3

09361-31210

NUT

SN: 4001-UP

1шт.

4

176-76-28260

COLLAR

SN: 4001-UP

1шт.

5

176-76-72451

LEVER,HIGH/LOW

SN: 4001-UP

1шт.

6

09304-01240

KNOB

SN: 4001-UP

1шт.

7

176-76-28250

COLLAR

SN: 4001-UP

1шт.

9

06120-01612

BEARING,NEEDLE

SN: 4001-UP

2шт.

10

06122-01603

SEAL,BEARING

SN: 4001-UP

2шт.

11

175-43-38160

SHAFT

SN: 4001-UP

1шт.

12

07020-00675

FITTING,GREASE

SN: 4001-UP

1шт.

13

176-76-27430

YOKE

SN: 4001-UP

1шт.

14

04025-00432

PIN,SPRING

SN: 4001-UP

1шт.

15

04010-00519

KEY

SN: 4001-UP

1шт.

16

06120-02016

BEARING,NEEDLE

SN: 4001-UP

2шт.

17

06122-02004

SEAL,BEARING

SN: 4001-UP

2шт.

18

176-76-27461

LEVER

SN: 4001-UP

1шт.

19

01010-80830

BOLT

SN: 4001-UP

1шт.

20

01602-00825

WASHER,SPRING

SN: 4001-UP

1шт.

21

176-76-27470

WASHER

SN: 4001-UP

1шт.

22

04064-02012

RING,SNAP

SN: 4001-UP

1шт.

23

06120-02520

BEARING,NEEDLE

SN: 4001-UP

1шт.

24

06122-02504

SEAL,BEARING

SN: 4001-UP

2шт.

25

01640-02440

WASHER

SN: 4001-UP

1шт.

26

04064-02512

RING,SNAP

SN: 4001-UP

1шт.

27

176-76-27421

BRACKET

SN: 4001-UP

1шт.

28

07020-00675

FITTING,GREASE

SN: 4001-UP

1шт.

29

01010-81235

BOLT

SN: 4001-UP

3шт.

30

01643-31232

WASHER

SN: 7529-UP

3шт.

30

0

WASHER,SPRING

SN: 4001-7528

3шт.

31

176-76-27621

SPRING

SN: 4001-UP

1шт.

32

176-76-28170

GUIDE

SN: 4001-UP

2шт.

33

176-76-28160

ROD

SN: 4001-UP

1шт.

34

01590-00809

NUT

SN: 4001-UP

1шт.

35

04050-02015

PIN,COTTER

SN: 4001-UP

1шт.

36

176-76-27621

SPRING

SN: 4001-UP

1шт.

37

01640-01223

WASHER

SN: 4001-UP

1шт.

38

176-76-28180

SHAFT

SN: 4001-UP

1шт.

39

04025-00324

PIN,SPRING

SN: 4001-UP

1шт.

40

01016-30825

BOLT

SN: 4001-UP

2шт.

41

01580-00806

NUT

SN: 4001-UP

2шт.

42

01640-00816

WASHER

SN: 4001-UP

1шт.

43

176-76-27622

SWITCH,MICRO

SN: 8364-UP

1шт.

43

0

SWITCH,MICRO

SN: 4001-8363

1шт.

44

01010-80625

BOLT

SN: 4001-UP

3шт.

45

01602-00619

WASHER,SPRING

SN: 4001-UP

3шт.

46

176-76-27711

CASE

SN: 4001-UP

1шт.

47

01010-81225

BOLT

SN: 4001-UP

4шт.

48

01643-31232

WASHER

SN: 7529-UP

4шт.

48

0

WASHER,SPRING

SN: 4001-7528

4шт.

49

176-76-27771

LEVER,LOCK

SN: 4001-UP

1шт.

50

09305-00800

KNOB

SN: 4001-UP

1шт.

51

176-76-27742

LEVER

SN: 4001-UP

1шт.

52

04025-00532

PIN,SPRING

SN: 4001-UP

1шт.

53

04205-01648

PIN

SN: 4001-UP

1шт.

54

04050-04025

PIN,COTTER

SN: 4001-UP

1шт.

55

154-44-12460

SPRING

SN: 4001-UP

1шт.

Выбрано товаров: 57