Запчасти Komatsu D355C-3 КАБИНА (/) (ДЛЯ КОНВЕЙЕРА SHIFTER)(№77-) ОПЦИОННЫЕ КОМПОНЕНТЫ

Схема запчастей Komatsu D355C-3 - КАБИНА (/) (ДЛЯ КОНВЕЙЕРА SHIFTER)(№77-) ОПЦИОННЫЕ КОМПОНЕНТЫ
FIT
1:1
100%

Артикул

Название

Примечание

Количество

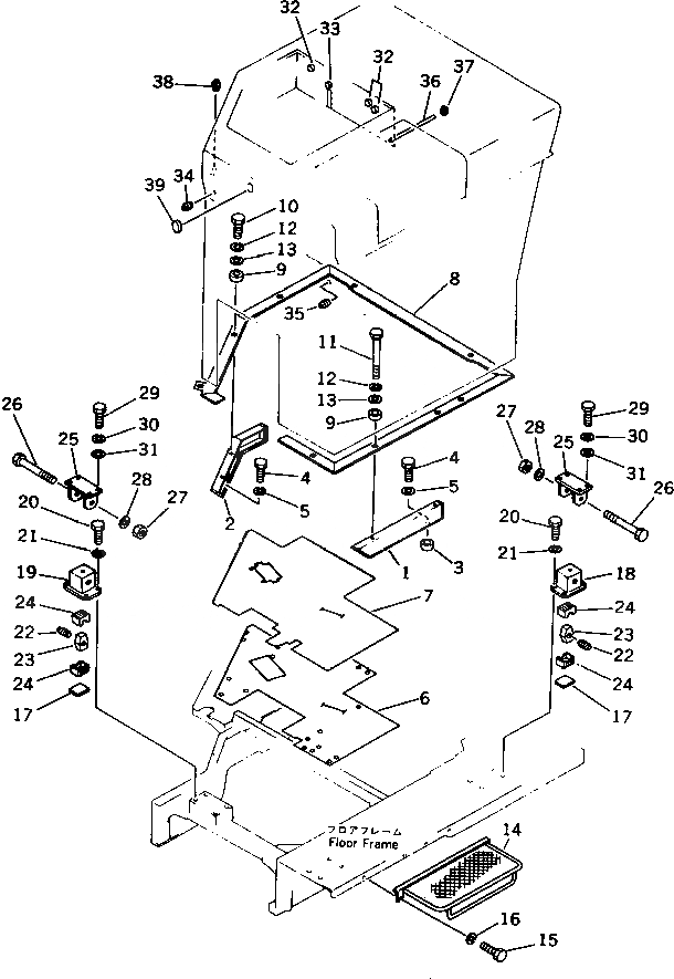
1

176-911-1112

BRACKET

SN: 12775-UP

1шт.

2

176-911-2890

BRACKET

SN: 12775-UP

1шт.

3

198-38-12390

SPACER

SN: 12775-UP

4шт.

4

01010-61450

BOLT

SN: 12775-UP

4шт.

5

01602-01442

WASHER

SN: 12775-UP

4шт.

6

196-911-1790

MAT

SN: 12775-UP

1шт.

7

196-911-1810

MAT

SN: 12775-UP

1шт.

8

176-911-1910

SEAT

SN: 12775-UP

1шт.

9

198-38-12390

SPACER

SN: 12775-UP

10шт.

10

01010-61450

BOLT

SN: 12775-UP

4шт.

11

01011-61465

BOLT

SN: 12775-UP

6шт.

12

01602-01442

WASHER

SN: 12775-UP

4шт.

13

01643-31445

WASHER

SN: 12775-UP

4шт.

14

176-54-47191

STEP

SN: 12775-UP

1шт.

15

01010-81230

BOLT

SN: 12775-UP

3шт.

16

01602-01236

WASHER

SN: 12775-UP

3шт.

17

198-54-13730

PLATE

SN: 12775-UP

4шт.

18

176-54-45480

BRACKET

SN: 12775-UP

2шт.

19

176-54-45490

BRACKET

SN: 12775-UP

2шт.

20

01010-61440

BOLT

SN: 12775-UP

16шт.

21

01602-01442

WASHER

SN: 12775-UP

16шт.

22

198-54-13760

COLLAR

SN: 12775-UP

4шт.

23

195-978-2190

BLOCK

SN: 12775-UP

4шт.

24

195-978-2181

RUBBER

SN: 12775-UP

8шт.

25

176-54-45470

BRACKET

SN: 12775-UP

4шт.

26

198-54-13770

BOLT

SN: 12775-UP

4шт.

27

01580-02722

NUT

SN: 12775-UP

4шт.

28

01643-32780

WASHER

SN: 12775-UP

4шт.

29

01010-61440

BOLT

SN: 12775-UP

16шт.

30

01602-01442

WASHER

SN: 12775-UP

16шт.

31

01643-31445

WASHER

SN: 12775-UP

16шт.

32

176-911-1970

SEAT

SN: 12775-UP

3шт.

33

09415-01610

CAP

SN: 12775-UP

1шт.

34

07049-00811

PLUG

SN: 12775-UP

1шт.

35

07049-01012

PLUG

SN: 12775-UP

13шт.

36

07270-01245

TUBE

SN: 12775-UP

1шт.

37

07281-00197

CLAMP

SN: 12775-UP

2шт.

38

07042-10415

PLUG

SN: 12775-UP

2шт.

39

176-911-1980

SEAT

SN: 12775-UP

1шт.

Выбрано товаров: 39