Запчасти Komatsu D355C-3 ЭЛЕКТРОПРОВОДКА В КАБИНЕ (ДЛЯ POLAND)(№-) ОПЦИОННЫЕ КОМПОНЕНТЫ

Схема запчастей Komatsu D355C-3 - ЭЛЕКТРОПРОВОДКА В КАБИНЕ (ДЛЯ POLAND)(№-) ОПЦИОННЫЕ КОМПОНЕНТЫ
FIT
1:1
100%

Артикул

Название

Примечание

Количество

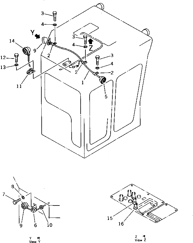
1

176-911-5411

WIRE

SN: 13006-UP

1шт.

2

08036-30814

CLIP

SN: 13006-UP

3шт.

3

01010-81016

BOLT

SN: 13006-UP

3шт.

4

01643-31032

WASHER

SN: 13006-UP

3шт.

5

08128-22400

LAMP ASS'Y

SN: 13006-UP

1шт.

5

08113-02480

BULB, 80W

SN: 13006-UP

1шт.

6

196-911-1470

BRACKET

SN: 13006-UP

1шт.

7

01010-81020

BOLT

SN: 13006-UP

2шт.

8

01643-31032

WASHER

SN: 13006-UP

2шт.

9

08125-02400

LAMP ASS'Y

SN: 13006-UP

1шт.

9

08107-02460

BULB, 60W

SN: 13006-UP

1шт.

10

08037-01008

GROMMET

SN: 13006-UP

1шт.

11

196-911-2950

BRACKET

SN: 13006-UP

1шт.

12

01010-81020

BOLT

SN: 13006-UP

2шт.

13

01643-31032

WASHER

SN: 13006-UP

2шт.

14

08128-22400

LAMP ASS'Y

SN: 13006-UP

1шт.

14

08113-02480

BULB, 80W

SN: 13006-UP

1шт.

15

08061-30020

SWITCH,WORKING LAMP

SN: 13006-UP

1шт.

16

08061-30010

SWITCH,HEAD LAMP

SN: 13006-UP

1шт.

Выбрано товаров: 19