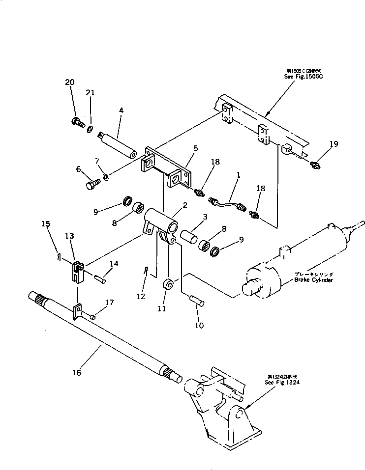
Запчасти Komatsu D355C-3 ТОРМОЗН. МЕХАНИЗМ (ДЛЯ ВСПОМОГ. СИСТ. ТОРМОЗНОГО МЕХ-МА)(№7-) ОПЦИОННЫЕ КОМПОНЕНТЫ

Схема запчастей Komatsu D355C-3 - ТОРМОЗН. МЕХАНИЗМ (ДЛЯ ВСПОМОГ. СИСТ. ТОРМОЗНОГО МЕХ-МА)(№7-) ОПЦИОННЫЕ КОМПОНЕНТЫ
FIT
1:1
100%

Артикул

Название

Примечание

Количество

1

196-43-25150

TUBE

SN: 12675-UP

1шт.

2

196-43-25110

LEVER

SN: 12675-UP

1шт.

3

06600-01411

BUSHING

SN: 12675-UP

1шт.

4

196-43-25120

SHAFT

SN: 12675-UP

1шт.

5

196-43-25130

BRACKET

SN: 12675-UP

1шт.

6

01010-81235

BOLT

SN: 12675-UP

4шт.

7

01643-31232

WASHER

SN: 12675-UP

4шт.

8

06120-03520

BEARING

SN: 12675-UP

2шт.

9

01622-03504

SEAL

SN: 12675-UP

2шт.

10

178-33-13250

PIN

SN: 12675-UP

1шт.

11

178-33-13260

COLLAR

SN: 12675-UP

1шт.

12

04050-14028

PIN,COTTER

SN: 12675-UP

1шт.

13

04213-21460

YOKE

SN: 12675-UP

1шт.

14

04205-11438

PIN

SN: 12675-UP

2шт.

15

04050-14028

PIN,COTTER

SN: 12675-UP

2шт.

16

196-43-25140

SHAFT

SN: 12675-UP

1шт.

17

06600-01411

BUSHING

SN: 12675-UP

1шт.

18

07213-50710

CONNECTOR

SN: 12675-UP

2шт.

19

07020-00675

FITTING,GREASE

SN: 12675-UP

1шт.

20

01010-80816

BOLT

SN: 12675-UP

1шт.

21

01602-20825

WASHER

SN: 12675-UP

1шт.

Выбрано товаров: 21