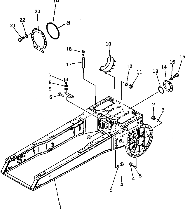
Запчасти Komatsu D355C-3 ОСНОВН. РАМА (ДЛЯ ПОДОГРЕВ. РАКЕТНОГО ТИПА)(№-) ПОДОГРЕВ. РАКЕТНОГО ТИПА И КОМПОНЕНТЫ

Схема запчастей Komatsu D355C-3 - ОСНОВН. РАМА (ДЛЯ ПОДОГРЕВ. РАКЕТНОГО ТИПА)(№-) ПОДОГРЕВ. РАКЕТНОГО ТИПА И КОМПОНЕНТЫ
FIT
1:1
100%

Артикул

Название

Примечание

Количество

1

196-21-32110

MAIN FRAME ASS'Y

SN: 12626-UP

1шт.

2

07040-14220

PLUG

SN: 12626-UP

2шт.

3

07002-04234

O-RING

SN: 12626-UP

2шт.

4

07044-13620

PLUG

SN: 12626-UP

3шт.

5

07002-03634

O-RING

SN: 12626-UP

3шт.

6

195-21-11321

PLATE

SN: 12626-UP

1шт.

7

01010-80820

BOLT

SN: 12626-UP

5шт.

8

01602-00825

WASHER

SN: 12626-UP

5шт.

9

01643-30823

WASHER

SN: 12626-UP

5шт.

10

195-21-11242

COVER

SN: 12626-UP

1шт.

11

01580-01210

NUT

SN: 12626-UP

5шт.

12

01643-31232

WASHER

SN: 12626-UP

5шт.

13

07000-05195

O-RING

SN: 12626-UP

1шт.

14

175-21-32170

COVER

SN: 12626-UP

1шт.

15

01010-62040

BOLT

SN: 12626-UP

6шт.

16

01643-32060

WASHER

SN: 12626-UP

6шт.

17

07350-00215

NIPPLE

SN: 12626-UP

2шт.

18

07030-00252

BREATHER

SN: 12626-UP

2шт.

19

195-21-11350

O-RING

SN: 12626-UP

1шт.

20

195-21-11173

GASKET

SN: 13664-UP

1шт.

20

0

GASKET

SN: 12626-13663

1шт.

21

01010-61855

BOLT

SN: 12626-UP

20шт.

22

01643-31845

WASHER

SN: 12626-UP

20шт.

Выбрано товаров: 23