Запчасти Komatsu D355C-3 ПОДОГРЕВ. РАКЕТНОГО ТИПА И ВОЗДУХОВОДЫ(№-) ПОДОГРЕВ. РАКЕТНОГО ТИПА И КОМПОНЕНТЫ

Схема запчастей Komatsu D355C-3 - ПОДОГРЕВ. РАКЕТНОГО ТИПА И ВОЗДУХОВОДЫ(№-) ПОДОГРЕВ. РАКЕТНОГО ТИПА И КОМПОНЕНТЫ
FIT
1:1
100%

Артикул

Название

Примечание

Количество

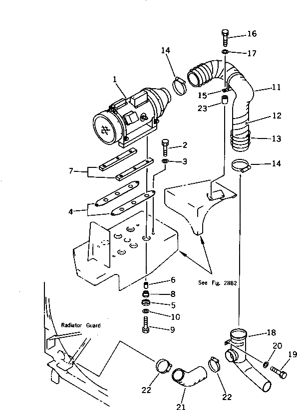
1

196-01-25110

HEATER

SN: 12626-UP

1шт.

2

01010-81235

BOLT

SN: 12626-UP

4шт.

3

01643-31232

WASHER

SN: 12626-UP

4шт.

4

195-01-16120

PLATE

SN: 12626-UP

2шт.

5

195-01-16130

COVER

SN: 12626-UP

6шт.

6

195-01-16140

SPACER

SN: 12626-UP

6шт.

7

195-01-16150

CUSHION

SN: 12626-UP

2шт.

8

195-01-16160

CUSHION

SN: 12626-UP

6шт.

9

01010-81055

BOLT

SN: 12626-UP

6шт.

10

01602-21030

WASHER

SN: 12626-UP

6шт.

11

196-01-25120

HOSE

SN: 12626-UP

1шт.

12

198-01-18140

TAPE

SN: 12626-UP

2шт.

13

198-01-18150

WIRE

SN: 12626-UP

2шт.

14

07281-01469

CLAMP

SN: 12626-UP

2шт.

15

195-01-16231

CLIP

SN: 12626-UP

2шт.

16

01010-81040

BOLT

SN: 12626-UP

2шт.

17

01643-31032

WASHER

SN: 12626-UP

2шт.

18

196-01-25130

DUCT

SN: 12626-UP

1шт.

19

01010-81225

BOLT

SN: 12626-UP

3шт.

20

01643-31232

WASHER

SN: 12626-UP

3шт.

21

196-01-25140

HOSE

SN: 12626-UP

1шт.

22

07281-01159

CLAMP

SN: 12626-UP

2шт.

23

195-33-11220

SPACER

SN: 12626-UP

1шт.

Выбрано товаров: 23