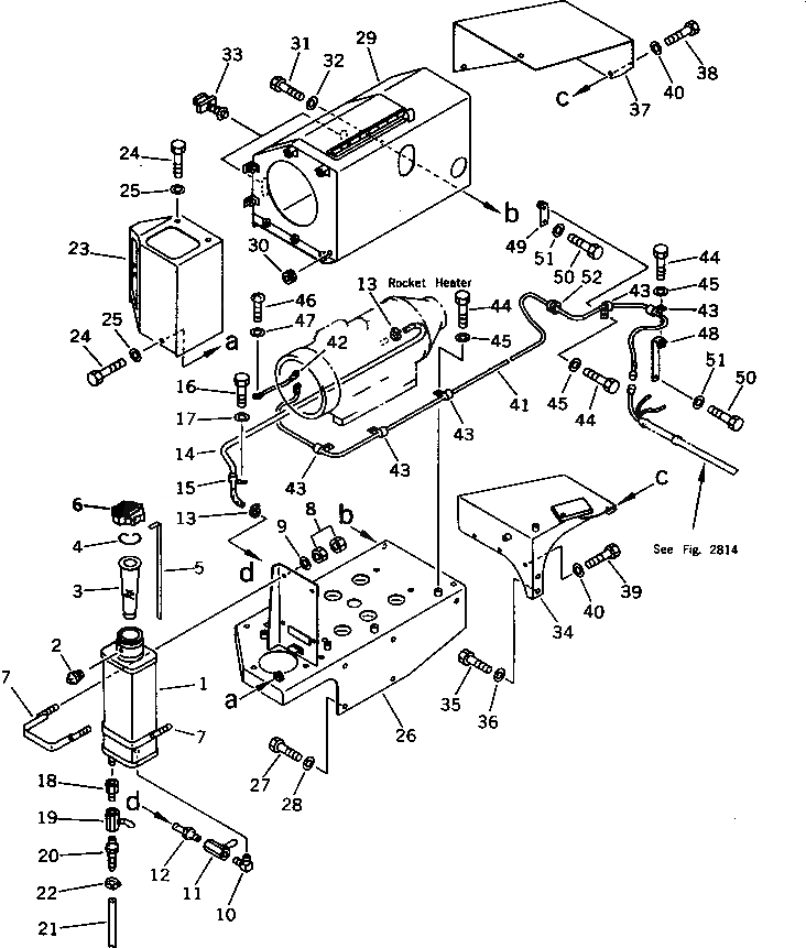
Запчасти Komatsu D355C-3 ПОДОГРЕВ. РАКЕТНОГО ТИПА КОРПУС КРЕПЛЕНИЯ И COVER(№-) ПОДОГРЕВ. РАКЕТНОГО ТИПА И КОМПОНЕНТЫ

Схема запчастей Komatsu D355C-3 - ПОДОГРЕВ. РАКЕТНОГО ТИПА КОРПУС КРЕПЛЕНИЯ И COVER(№-) ПОДОГРЕВ. РАКЕТНОГО ТИПА И КОМПОНЕНТЫ
FIT
1:1
100%

Артикул

Название

Примечание

Количество

1

195-01-15614

TANK

SN: 12626-UP

1шт.

2

07042-70108

PLUG

SN: 12626-UP

1шт.

3

07056-16415

STRAINER

SN: 12626-UP

1шт.

4

07054-03266

RING

SN: 12626-UP

1шт.

5

195-01-15711

GAUGE

SN: 12626-UP

1шт.

6

07091-10900

CAP

SN: 12626-UP

1шт.

7

195-01-15690

BAND

SN: 12626-UP

2шт.

8

01580-10806

NUT

SN: 12626-UP

8шт.

9

01643-30823

WASHER

SN: 12626-UP

4шт.

10

20D-68-11670

ELBOW

SN: 12626-UP

1шт.

11

07700-40240

VALVE

SN: 12626-UP

1шт.

12

195-01-16830

NIPPLE

SN: 12626-UP

1шт.

13

07281-00137

CLAMP

SN: 12626-UP

2шт.

14

07270-50711

TUBE

SN: 12626-UP

1шт.

15

08036-21014

CLIP

SN: 12626-UP

2шт.

16

01010-81016

BOLT

SN: 12626-UP

2шт.

17

01643-31032

WASHER

SN: 12626-UP

2шт.

18

170-21-11190

NIPPLE

SN: 12626-UP

1шт.

19

07700-40240

VALVE

SN: 12626-UP

1шт.

20

195-01-16310

NIPPLE

SN: 12626-UP

1шт.

21

07270-30815

TUBE

SN: 12626-UP

1шт.

22

07281-00167

CLAMP

SN: 12626-UP

1шт.

23

196-01-25190

COVER

SN: 12626-UP

1шт.

24

01010-81225

BOLT

SN: 12626-UP

6шт.

25

01643-31232

WASHER

SN: 12626-UP

6шт.

26

196-01-25170

BRACKET

SN: 12626-UP

1шт.

27

01010-61640

BOLT

SN: 12626-UP

5шт.

28

01643-31645

WASHER

SN: 12626-UP

5шт.

29

196-01-25180

COVER

SN: 12626-UP

1шт.

30

08037-01610

GROMMET

SN: 12626-UP

1шт.

31

01010-81230

BOLT

SN: 12626-UP

7шт.

32

01643-31232

WASHER

SN: 12626-UP

7шт.

33

09459-20000

LOCK

SN: 14003-UP

2шт.

33

09459-00000

LOCK

SN: 12626-14002

2шт.

34

196-01-25150

COVER

SN: 12626-UP

1шт.

35

01010-61635

BOLT

SN: 12626-UP

2шт.

36

01643-31645

WASHER

SN: 12626-UP

2шт.

37

196-01-25160

COVER

SN: 12626-UP

1шт.

38

01010-81225

BOLT

SN: 12626-UP

4шт.

39

01010-81230

BOLT

SN: 12626-UP

3шт.

40

01643-31232

WASHER

SN: 12626-UP

7шт.

41

195-06-22741

CABLE

SN: 12626-UP

1шт.

42

195-06-26220

CABLE

SN: 12626-UP

1шт.

43

08036-30814

CLIP

SN: 12626-UP

8шт.

44

01010-81016

BOLT

SN: 12626-UP

8шт.

45

01643-31032

WASHER

SN: 12626-UP

8шт.

46

01220-40512

SCREW

SN: 12626-UP

1шт.

47

01641-20508

WASHER

SN: 12626-UP

1шт.

48

196-06-32120

PLATE

SN: 12626-UP

1шт.

49

196-06-32130

PLATE

SN: 12626-UP

1шт.

50

01010-81225

BOLT

SN: 12626-UP

2шт.

51

01643-31232

WASHER

SN: 12626-UP

2шт.

52

08037-01008

GROMMET

SN: 12626-UP

1шт.

Выбрано товаров: 53