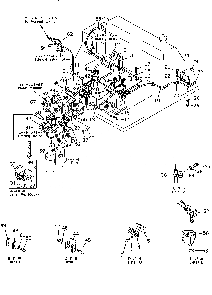
Запчасти Komatsu D355C-3 ЭЛЕКТРИКА (/)(№-) КОМПОНЕНТЫ ДВИГАТЕЛЯ И ЭЛЕКТРИКА

Схема запчастей Komatsu D355C-3 - ЭЛЕКТРИКА (/)(№-) КОМПОНЕНТЫ ДВИГАТЕЛЯ И ЭЛЕКТРИКА
FIT
1:1
100%

Артикул

Название

Примечание

Количество

1

176-06-41392

WIRE ASS'Y

SN: 5416-UP

1шт.

2

08064-10000

HORN SWITCH

SN: 5416-UP

1шт.

3

176-06-41412

WIRE ASS'Y

SN: 5416-UP

1шт.

4

176-911-1841

PLATE

SN: 5416-UP

1шт.

5

176-911-1851

RUBBER

SN: 5416-UP

1шт.

6

01010-81230

BOLT

SN: 5416-UP

2шт.

7

01643-31232

WASHER

SN: 7529-UP

2шт.

7

0

WASHER

SN: 5416-7528

2шт.

8

196-70-17320

WIRE ASS'Y

SN: 7529-UP

1шт.

8

196-70-27110

WIRE ASS'Y

SN: 5416-7528

1шт.

9

08035-02510

CLIP

SN: 5416-UP

5шт.

10

01010-81020

BOLT

SN: 5416-UP

4шт.

11

01643-31032

WASHER

SN: 5416-UP

4шт.

12

176-06-41373

WIRE ASS'Y

SN: 8631-UP

1шт.

12

0

WIRE ASS'Y

SN: 7529-8630

1шт.

12

196-06-31110

WIRE ASS'Y

SN: 5416-7528

1шт.

13

08035-02510

CLIP

SN: 5416-UP

2шт.

14

01010-81020

BOLT

SN: 5416-UP

2шт.

15

01643-31032

WASHER

SN: 5416-UP

2шт.

16

08035-01510

CLIP

SN: 5416-UP

4шт.

17

01010-81020

BOLT

SN: 5416-UP

4шт.

18

01643-31032

WASHER

SN: 5416-UP

4шт.

19

176-06-41382

WIRE ASS'Y

SN: 5416-UP

1шт.

20

08035-01510

CLIP

SN: 5416-UP

3шт.

21

01010-81020

BOLT

SN: 5416-UP

3шт.

22

01643-31032

WASHER

SN: 5416-UP

3шт.

23

176-06-41440

COVER

SN: 5416-UP

1шт.

24

08128-32400

LAMP

SN: 5416-UP

1шт.

24

08113-02480

BULB, 80W

SN: 5416-UP

1шт.

25

01010-81240

BOLT

SN: 5416-UP

4шт.

26

01643-31232

WASHER

SN: 7529-UP

4шт.

27

176-06-41332

WIRE ASS'Y

SN: 5416-UP

1шт.

27A

195-06-25291

FUSE ASS'Y

SN: 8631-UP

1шт.

28

08035-02510

CLIP

SN: 7529-UP

1шт.

29

08036-10614

CLIP

SN: 5416-UP

2шт.

30

08035-03010

CLIP

SN: 5416-UP

1шт.

31

154-06-13130

CAP

SN: 5416-UP

1шт.

32

140-06-18260

CAP

SN: 5416-UP

1шт.

33

08036-01414

CLIP

SN: 5416-UP

2шт.

34

01010-81016

BOLT

SN: 5416-UP

2шт.

35

01643-31032

WASHER

SN: 5416-UP

2шт.

36

08035-03010

CLIP

SN: 7529-UP

1шт.

36

154-06-13780

CLAMP

SN: 5416-7528

1шт.

37

01010-81016

BOLT

SN: 5416-UP

1шт.

38

01643-31032

WASHER

SN: 5416-UP

1шт.

39

176-06-41451

WIRE ASS'Y

SN: 7529-UP

1шт.

39

196-06-31120

WIRE ASS'Y

SN: 5416-7528

1шт.

40

08035-03010

CLIP

SN: 5416-UP

5шт.

41

01010-81020

BOLT

SN: 5416-UP

4шт.

42

01643-31032

WASHER

SN: 5416-UP

4шт.

43

196-06-21220

TUBE

SN: 5416-UP

1шт.

44

195-06-13370

CLAMP

SN: 5416-UP

4шт.

45

01220-30425

SCREW

SN: 5416-UP

2шт.

46

01601-00410

WASHER

SN: 5416-UP

2шт.

47

01580-00403

NUT

SN: 5416-UP

2шт.

48

195-06-13370

CLAMP

SN: 5416-UP

1шт.

49

175-06-37570

SEAT

SN: 5416-UP

1шт.

50

01220-30425

SCREW

SN: 5416-UP

1шт.

51

01601-00410

WASHER

SN: 5416-UP

1шт.

52

08620-00000

SENSOR

SN: 5416-UP

2шт.

53

08036-11214

CLIP

SN: 5416-UP

1шт.

54

01010-81016

BOLT

SN: 5416-UP

1шт.

55

01643-31032

WASHER

SN: 5416-UP

1шт.

56

196-06-13140

BRACKET

SN: 5416-UP

1шт.

57

113-06-23250

SWITCH

SN: 5416-UP

1шт.

58

196-06-21230

TUBE

SN: 5416-UP

1шт.

59

6610-81-8820

ELBOW

SN: 5416-UP

1шт.

60

08034-00414

BAND

SN: 5416-UP

1шт.

61

08036-30614

CLIP

SN: 5416-UP

1шт.

62

196-06-21240

WIRE ASS'Y

SN: 5416-UP

1шт.

63

01643-31445

WASHER

SN: 7529-UP

1шт.

64

08035-02510

CLIP

SN: 7529-UP

1шт.

65

196-06-13150

PLATE

SN: 7529-UP

1шт.

66

08034-00414

BAND

SN: 7529-UP

1шт.

67

281-06-13922

SENSOR,(FOR POLAND)

SN: 12996-UP

1шт.

Выбрано товаров: 75