Запчасти Komatsu D355C-3 ЭЛЕКТРИКА (/)(№-) КОМПОНЕНТЫ ДВИГАТЕЛЯ И ЭЛЕКТРИКА

Схема запчастей Komatsu D355C-3 - ЭЛЕКТРИКА (/)(№-) КОМПОНЕНТЫ ДВИГАТЕЛЯ И ЭЛЕКТРИКА
FIT
1:1
100%

Артикул

Название

Примечание

Количество

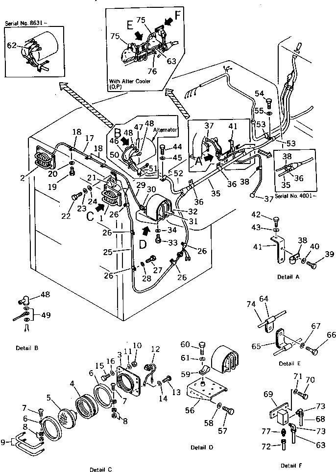
1

176-06-41802

HEAD LAMP ASS'Y

SN: 8631-UP

1шт.

1

0

HEAD LAMP ASS'Y

SN: 5416-8630

1шт.

2

176-06-41902

HEAD LAMP ASS'Y

SN: 8631-UP

1шт.

2

0

HEAD LAMP ASS'Y

SN: 5416-8630

1шт.

3

176-06-41741

BASE

SN: 5416-UP

1шт.

3

176-06-41751

BASE

SN: 5416-UP

1шт.

4

08128-00003

HOLDER

SN: 5416-UP

1шт.

5

08113-02480

BULB, 80W

SN: 5416-UP

1шт.

6

08128-00004

BAND

SN: 5416-UP

2шт.

7

01210-30420

SCREW

SN: 5416-UP

2шт.

8

01580-00403

NUT

SN: 5416-UP

4шт.

9

176-06-41760

GUARD

SN: 5416-UP

2шт.

10

01580-00806

NUT

SN: 5416-UP

4шт.

11

01602-00825

WASHER

SN: 5416-UP

4шт.

12

175-806-2271

SOCKET ASS'Y

SN: 8631-UP

1шт.

12

0

SOCKET

SN: 5416-8630

1шт.

13

01210-30408

SCREW

SN: 5416-UP

1шт.

14

01601-00410

WASHER

SN: 5416-UP

1шт.

15

01010-50816

BOLT

SN: 5416-UP

3шт.

16

01602-00825

WASHER

SN: 5416-UP

3шт.

17

176-06-41680

WIRE ASS'Y

SN: 5416-UP

1шт.

18

08034-00614

BAND

SN: 5416-UP

3шт.

19

01010-51016

BOLT

SN: 5416-UP

3шт.

20

01643-31032

WASHER

SN: 5416-UP

3шт.

21

175-06-39170

HORN

SN: 5416-UP

1шт.

22

01010-50820

BOLT

SN: 5416-UP

2шт.

23

01643-30823

WASHER

SN: 5416-UP

2шт.

24

01640-00816

WASHER

SN: 5416-UP

2шт.

25

176-06-41342

WIRE ASS'Y

SN: 5416-UP

1шт.

26

08035-01510

CLIP

SN: 5416-UP

5шт.

27

01010-51016

BOLT

SN: 5416-UP

5шт.

28

01643-31032

WASHER

SN: 5416-UP

5шт.

29

196-06-31130

WIRE ASS'Y,(WITH BLADE)

SN: 5416-UP

1шт.

29

176-06-41361

WIRE ASS'Y

SN: 5416-UP

1шт.

30

195-06-17260

GROMMET

SN: 5416-UP

1шт.

31

08128-32400

LAMP

SN: 5416-UP

1шт.

32

176-06-41440

COVER

SN: 5416-UP

1шт.

33

01010-51230

BOLT

SN: 5416-UP

4шт.

34

01643-31232

WASHER

SN: 5416-UP

4шт.

35

176-06-41324

WIRE ASS'Y

SN: 8631-UP

1шт.

35

0

WIRE ASS'Y

SN: 5416-8630

1шт.

35

196-06-31220

WIRE ASS'Y,(FOR POLAND)

SN: 5416-UP

1шт.

36

08035-03014

CLIP

SN: 5416-UP

3шт.

37

140-06-18260

CAP

SN: 5416-UP

2шт.

38

08036-10614

CLIP

SN: 5416-UP

3шт.

39

01010-51016

BOLT

SN: 5416-UP

1шт.

40

01643-31032

WASHER

SN: 5416-UP

1шт.

41

175-06-37510

PLATE

SN: 5416-7509

2шт.

42

01010-51425

BOLT

SN: 5416-7509

2шт.

43

01643-31445

WASHER

SN: 5416-7509

2шт.

44

01010-51220

BOLT

SN: 5416-UP

1шт.

45

01643-31232

WASHER

SN: 5416-UP

1шт.

46

175-06-39760

WIRE

SN: 9080-UP

1шт.

46

0

WIRE ASS'Y

SN: 7529-9079

1шт.

46

176-06-41670

WIRE ASS'Y

SN: 5416-7528

1шт.

47

140-06-18260

CAP

SN: 5416-UP

2шт.

48

08038-02027

CAP

SN: 5416-UP

2шт.

49

154-06-36790

WASHER

SN: 5416-UP

2шт.

50

08034-00823

BAND

SN: 5416-UP

1шт.

51

175-06-36251

CLAMP

SN: 5416-7528

1шт.

52

175-06-25150

CLIP

SN: 5416-UP

1шт.

53

08035-03010

CLIP

SN: 5416-UP

2шт.

54

01010-51025

BOLT

SN: 5416-UP

1шт.

55

01643-31032

WASHER

SN: 5416-UP

1шт.

56

196-06-31140

BRACKET,(WITH BLADE)

SN: 5416-UP

1шт.

57

01010-51240

BOLT,(WITH BLADE)

SN: 5416-UP

3шт.

58

01643-31232

WASHER,(WITH BLADE)

SN: 5416-UP

3шт.

59

08036-10614

CLIP,(WITH BLADE)

SN: 5416-UP

1шт.

60

01010-51220

BOLT,(WITH BLADE)

SN: 5416-UP

1шт.

61

01643-31232

WASHER,(WITH BLADE)

SN: 5416-UP

1шт.

62

195-06-25323

WIRING HARNESS

SN: 11703-UP

1шт.

62

0

WIRE ASS'Y

SN: 8631-11702

1шт.

63

6128-81-4410

TUBE,(WITH AFTER COOLER)

SN: 8631-UP

1шт.

64

08036-30614

CLIP,(WITH AFTER COOLER)

SN: 8631-UP

2шт.

65

6127-81-4420

CLIP,(WITH AFTER COOLER)

SN: 8631-UP

2шт.

66

01010-51020

BOLT,(WITH AFTER COOLER)

SN: 8631-UP

2шт.

67

01602-21030

WASHER,(WITH AFTER COOLER)

SN: 8631-UP

2шт.

68

6128-81-4420

TUBE,(WITH AFTER COOLER)

SN: 8631-UP

1шт.

69

128-81-4430

BRACKET,(WITH AFTER COOLER)

SN: 8631-UP

1шт.

70

01010-51020

BOLT,(WITH AFTER COOLER)

SN: 8631-UP

2шт.

71

01602-01030

WASHER,(WITH AFTER COOLER)

SN: 8631-UP

2шт.

72

195-06-13560

TUBE,(WITH AFTER COOLER)

SN: 8631-UP

1шт.

73

6610-81-8820

ELBOW,(WITH AFTER COOLER)

SN: 8631-UP

2шт.

74

19N-06-11220

TUBE,(WITH AFTER COOLER)

SN: 8631-UP

1шт.

75

08038-10518

CAP,(WITH AFTER COOLER)

SN: 8631-UP

2шт.

76

08034-00414

BAND,(WITH AFTER COOLER)

SN: 8631-UP

2шт.

77

07213-50516

CONNECTOR,(WITH AFTER COOLER)

SN: 8631-UP

1шт.

Выбрано товаров: 87