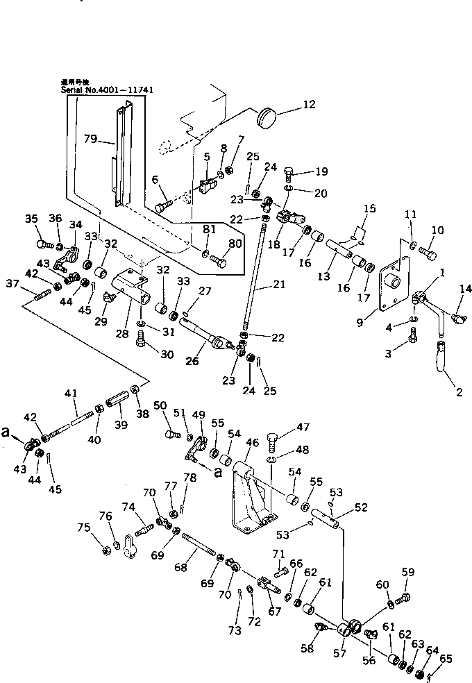
Запчасти Komatsu D355C-3 РЫЧАГ СБРОСА ДАВЛЕНИЯ(№-) КОМПОНЕНТЫ ДВИГАТЕЛЯ И ЭЛЕКТРИКА

Схема запчастей Komatsu D355C-3 - РЫЧАГ СБРОСА ДАВЛЕНИЯ(№-) КОМПОНЕНТЫ ДВИГАТЕЛЯ И ЭЛЕКТРИКА
FIT
1:1
100%

Артикул

Название

Примечание

Количество

1

176-43-43351

LEVER

SN: 4001-UP

1шт.

2

09305-11400

KNOB

SN: 4001-UP

1шт.

3

01010-81035

BOLT

SN: 4001-UP

1шт.

4

01602-01030

WASHER

SN: 4001-UP

1шт.

5

195-43-18361

SPRING

SN: 4001-UP

1шт.

6

01010-81020

BOLT

SN: 4001-UP

2шт.

7

01580-01008

NUT

SN: 4001-UP

2шт.

8

01602-01030

WASHER

SN: 4001-UP

2шт.

9

176-43-43371

BRACKET

SN: 4001-UP

1шт.

10

01010-81030

BOLT

SN: 4001-UP

3шт.

11

01602-01030

WASHER

SN: 4001-UP

3шт.

12

09415-05022

CAP

SN: 4001-UP

1шт.

13

176-43-43361

SHAFT

SN: 4001-UP

1шт.

14

07020-00900

FITTING

SN: 4001-UP

1шт.

15

04010-00519

KEY

SN: 4001-UP

2шт.

16

06120-02520

BEARING

SN: 4001-UP

2шт.

17

06122-02504

SEAL

SN: 4001-UP

2шт.

18

176-43-43391

LEVER

SN: 4001-UP

1шт.

19

01010-81035

BOLT

SN: 4001-UP

1шт.

20

01602-01030

WASHER

SN: 4001-UP

1шт.

21

04245-01058

ROD

SN: 4001-UP

1шт.

22

01582-01008

NUT

SN: 4001-UP

2шт.

23

04250-41056

END

SN: 4001-UP

2шт.

24

01593-01008

NUT

SN: 4001-UP

2шт.

25

04050-02018

PIN

SN: 4001-UP

2шт.

26

176-43-43411

LEVER

SN: 4001-UP

1шт.

27

04010-00519

KEY

SN: 4001-UP

1шт.

28

176-43-43680

BRACKET

SN: 4001-UP

1шт.

29

07020-00900

FITTING

SN: 4001-UP

1шт.

30

01010-81230

BOLT

SN: 4001-UP

2шт.

31

01643-31232

WASHER

SN: 7529-UP

2шт.

31

0

WASHER

SN: 4001-7528

2шт.

32

06120-02520

BEARING

SN: 4001-UP

2шт.

33

06122-02504

SEAL

SN: 4001-UP

2шт.

34

175-43-41791

LEVER

SN: 4001-UP

1шт.

35

01010-81035

BOLT

SN: 4001-UP

1шт.

36

01602-01030

WASHER

SN: 4001-UP

1шт.

37

176-43-43210

ROD

SN: 4001-UP

1шт.

38

01508-01006

NUT

SN: 4001-UP

1шт.

39

176-43-43190

BUCKLE

SN: 4001-UP

1шт.

40

01583-01006

NUT

SN: 4001-UP

1шт.

41

04245-01047

ROD

SN: 4001-UP

1шт.

42

01582-01008

NUT

SN: 4001-UP

2шт.

43

04250-41056

END

SN: 4001-UP

2шт.

44

01593-01008

NUT

SN: 4001-UP

2шт.

45

04050-02018

PIN

SN: 4001-UP

2шт.

46

196-43-13130

BRACKET

SN: 4001-UP

1шт.

47

01010-81635

BOLT

SN: 4001-UP

2шт.

48

01643-31645

WASHER

SN: 7529-UP

2шт.

48

0

WASHER

SN: 4001-7528

2шт.

49

175-43-41791

LEVER

SN: 4001-UP

1шт.

50

01010-81035

BOLT

SN: 4001-UP

1шт.

51

01602-01030

WASHER

SN: 4001-UP

1шт.

52

176-43-43690

PIN

SN: 4001-UP

1шт.

53

04010-00519

KEY

SN: 4001-UP

2шт.

54

06120-02520

BEARING

SN: 4001-UP

2шт.

55

06122-02504

SEAL

SN: 4001-UP

2шт.

56

07020-00675

FITTING

SN: 4001-UP

1шт.

57

175-43-41830

LEVER

SN: 4001-UP

1шт.

58

07020-00900

FITTING

SN: 4001-UP

1шт.

59

01010-81035

BOLT

SN: 4001-UP

1шт.

60

01602-01030

WASHER

SN: 4001-UP

1шт.

61

06120-02016

BEARING

SN: 4001-UP

2шт.

62

06122-02004

SEAL

SN: 4001-UP

2шт.

63

01640-01426

WASHER

SN: 4001-UP

1шт.

64

01593-01411

NUT

SN: 4001-UP

1шт.

65

04050-03022

PIN

SN: 4001-UP

1шт.

66

01640-02032

WASHER

SN: 4001-UP

1шт.

67

175-43-41840

YOKE

SN: 4001-UP

1шт.

68

04245-01017

ROD

SN: 4001-UP

1шт.

69

01582-01008

NUT

SN: 4001-UP

2шт.

70

04250-41056

END

SN: 4001-UP

2шт.

71

04205-01035

PIN

SN: 4001-UP

1шт.

72

01641-01016

WASHER

SN: 4001-UP

1шт.

73

04050-03015

PIN

SN: 4001-UP

1шт.

74

176-43-43520

PIN

SN: 4001-UP

1шт.

75

01580-00806

NUT

SN: 4001-UP

1шт.

76

01602-00825

WASHER

SN: 4001-UP

1шт.

77

01593-01008

NUT

SN: 4001-UP

1шт.

78

04050-02018

PIN

SN: 4001-UP

1шт.

79

176-43-43670

COVER

SN: 4001-11741

1шт.

80

01010-81230

BOLT

SN: 4001-11741

4шт.

81

01643-31232

WASHER

SN: 7529-11741

4шт.

81

0

WASHER

SN: 4001-7528

4шт.

Выбрано товаров: 84