Запчасти Komatsu D85C-21 ОСНОВН. КОНСТРУКЦИЯ (БЕЗОПАСН. REGULATION ДЛЯ СНГ)(№79-) КАБИНА ОПЕРАТОРА И СИСТЕМА УПРАВЛЕНИЯ

Схема запчастей Komatsu D85C-21 - ОСНОВН. КОНСТРУКЦИЯ (БЕЗОПАСН. REGULATION ДЛЯ СНГ)(№79-) КАБИНА ОПЕРАТОРА И СИСТЕМА УПРАВЛЕНИЯ
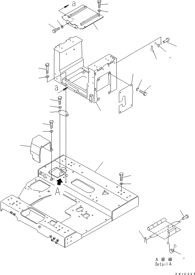
1
2
3
4
5
6
7
8
9
10
11
12
13
14
15
16
17
18
19
20
21
22
23
24
25
26
27
FIT
1:1
100%

Артикул

Название

Примечание

Количество

1

156-54-23330

FLOOR FRAME

SN: 37594-UP

1шт.

2

09463-00002

SPRING

SN: 37594-UP

2шт.

3

04205-10618

PIN

SN: 37594-UP

4шт.

4

04050-11610

PIN

SN: 37594-UP

4шт.

5

176-57-41152

COVER

SN: 37594-UP

1шт.

6

01010-81225

BOLT

SN: 37594-UP

2шт.

7

01643-31232

WASHER

SN: 37594-UP

2шт.

8

01010-81230

BOLT

SN: 37594-UP

4шт.

9

01643-31232

WASHER

SN: 37594-UP

4шт.

10

09463-00002

SPRING

SN: 37594-UP

1шт.

11

09463-00006

SPRING

SN: 37594-UP

1шт.

12

04205-10616

PIN

SN: 37594-UP

4шт.

13

04050-11610

PIN

SN: 37594-UP

4шт.

14

176-57-41112

CASE

SN: 37594-UP

1шт.

15

01010-81485

BOLT

SN: 37594-UP

4шт.

16

01643-31445

WASHER

SN: 37594-UP

4шт.

17

176-57-41121

COVER

SN: 37594-UP

1шт.

18

01010-80820

BOLT

SN: 37594-UP

4шт.

19

01643-30823

WASHER

SN: 37594-UP

4шт.

20

176-54-45510

COVER

SN: 37594-UP

1шт.

21

01010-81230

BOLT

SN: 37594-UP

4шт.

22

01643-31232

WASHER

SN: 37594-UP

4шт.

23

196-54-29470

PLATE

SN: 37594-UP

1шт.

24

01010-81230

BOLT

SN: 37594-UP

2шт.

25

01643-31232

WASHER

SN: 37594-UP

2шт.

26

01010-81440

BOLT

SN: 37594-UP

16шт.

27

01643-31445

WASHER

SN: 37594-UP

16шт.

Выбрано товаров: 27