Запчасти Komatsu D85C-21 КЛАПАН УПРАВЛЕНИЯ ТРАНСМИССИЕЙ (/) СИЛОВАЯ ПЕРЕДАЧА И КОНЕЧНАЯ ПЕРЕДАЧА

Схема запчастей Komatsu D85C-21 - КЛАПАН УПРАВЛЕНИЯ ТРАНСМИССИЕЙ (/) СИЛОВАЯ ПЕРЕДАЧА И КОНЕЧНАЯ ПЕРЕДАЧА
FIT
1:1
100%

Артикул

Название

Примечание

Количество

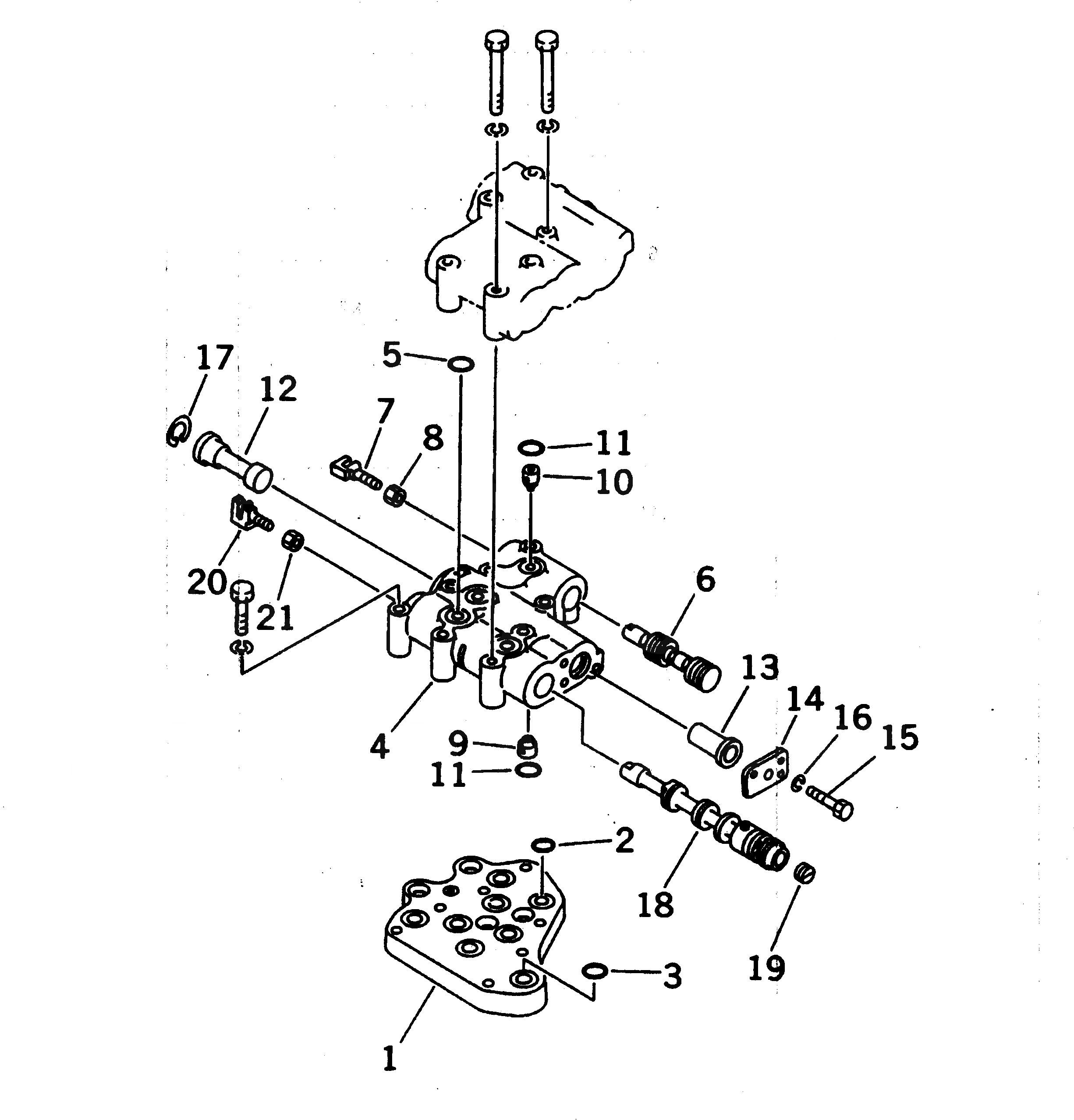
|$$1

SERIAL NO. IN ( ) INDICATES TRANSMISSION SERIAL NO.

-1шт.

|$2

154-15-00700

TRANSMISSION ASS'Y

SN: 36551-UP

1шт.

|$$3

THIS ASSEMBLY CONSISTS OF ALL PARTS SHOWN IN FIGS.F2320-51A0 TO F2320-60A0.

-1шт.

|$5

154-15-01133

VALVE ASS'Y,CONTROL

SN: 36551-UP

1шт.

|$$5

THIS ASSEMBLY CONSISTS OF ALL PARTS SHOWN IN FIGS.F2320-57A0 AND F2320-58A0.

-1шт.

1

154-15-45130

SEAT,VALVE

SN: 36551-UP

1шт.

2

07000-73022

O-RING (K3)

SN: (4626)-UP

5шт.

2

07000-73022

O-RING (K3)

SN: 36551-(4625)

4шт.

3

07000-73025

O-RING (K3)

SN: 36551-UP

3шт.

4

154-15-45210

BODY,VALVE

SN: 36551-UP

1шт.

5

07000-73022

O-RING (K3)

SN: 36551-UP

3шт.

6

175-15-45220

SPOOL

SN: 36551-UP

1шт.

7

09363-01053

YOKE

SN: 36551-UP

1шт.

8

01580-11008

NUT

SN: 36551-UP

1шт.

9

175-15-45260

DETENT

SN: 36551-UP

1шт.

9

195-15-15680

SPRING

SN: 36551-UP

1шт.

9

04260-00952

BALL

SN: 36551-UP

1шт.

10

195-15-15671

DETENT

SN: 36551-UP

1шт.

10

195-15-15680

SPRING

SN: 36551-UP

1шт.

10

04260-00952

BALL

SN: 36551-UP

1шт.

11

07000-73022

O-RING (K3)

SN: 36551-UP

2шт.

12

144-15-25420

SPACER

SN: 36551-UP

1шт.

13

145-15-45550

RETAINER

SN: 36551-UP

1шт.

14

175-15-45810

PLATE

SN: 36551-UP

1шт.

15

01010-81025

BOLT

SN: 36551-UP

2шт.

16

01602-21030

WASHER,SPRING

SN: 36551-UP

2шт.

17

04065-03515

RING

SN: 36551-UP

1шт.

|$30

15A-15-00512

SPOOL ASS'Y

SN: 36551-UP

1шт.

18

0

SPOOL

SN: 36551-UP

1шт.

19

144-15-25210

PLUG

SN: 36551-UP

1шт.

20

09363-01053

YOKE

SN: 36551-UP

1шт.

21

01580-11008

NUT

SN: 36551-UP

1шт.

Выбрано товаров: 0