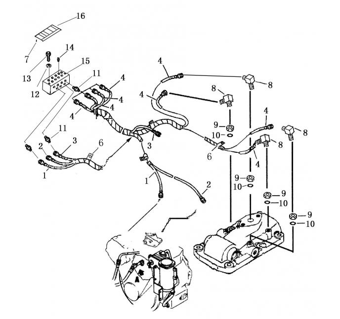
Запчасти Shantui SD13-130 трубопровод для измерения давления коробка рулевого механизма и конечная передача

Схема запчастей Shantui SD13-130 - трубопровод для измерения давления коробка рулевого механизма и конечная передача
1
2
3
4
5
6
7
8
9
10
11
12
13
14
15
FIT
1:1
100%

Артикул

Название

Примечание

Количество

1

10Y-76B-01000

шланг

2

10Y-76B-02000

шланг

3

10Y-76B-03000

шланг

4

10Y-76B-04000

шланг

5

08034-20414

хомут

6

04418-02550

заклепка

7

10Y-76B-00004

соединитель

8

01580-10806

гайка M8

9

07002-10823

O-образное кольцо

10

10Y-76B-00003

соединитель

11

01643-31232

Шайба 12

12

01010-51245

Болт М12 * 45

13

07042-20108

резьбовая заглушка R1 / 8

14

10Y-76B-00001

манометр

15

10Y-76B-00002

пластина

Выбрано товаров: 15