Запчасти Shantui SD13-130 топливный бак и трубопровод сопутствующие детали двигателя

Схема запчастей Shantui SD13-130 - топливный бак и трубопровод сопутствующие детали двигателя
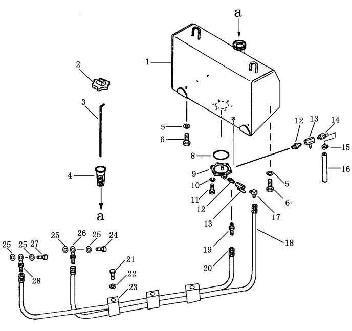
1
2
3
4
5
6
7
8
9
10
11
12
13
14
15
16
17
18
19
20
21
22
23
24
25
26
27
FIT
1:1
100%

Артикул

Название

Примечание

Количество

1

10Y-04B-01000

топливный бак

2

16Y-04C-02000

крышка масляного бака

3

10Y-04B-00003

масляный щуп

4

07056-18416

сетчатый фильтр

5

01643-31445

Шайба 14

6

01010-51430

Болт М14 * 30

7

07000-12135

O-образное кольцо

8

16Y-04-00006

фланец

9

01643-31032

Шайба 10

10

01010-51025

Болт М10 * 25

11

16Y-04-00007

патрубок

12

07700-40460

клапан

13

16Y-04-00008

дренажная муфта

14

07280-01210

хомут

15

07270-21265

шланг

16

16Y-04-00003

патрубок

17

07102-20330

шланг

18

16Y-04-00002

патрубок

19

07102-20232

шланг

20

01010-51220

Болт М12 * 20

21

01643-31232

Шайба 12

22

16Y-04-10000

зажим для труб

23

10Y-04B-00001

пустотелый болт

24

10Y-04-00005

подкладка

25

16Y-04-40000

трубка

26

10Y-04B-00002

пустотелый болт

27

10Y-04B-02000

трубка

Выбрано товаров: 27