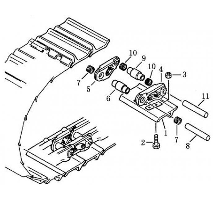
Запчасти Shantui SD13-130 гусеница в сборе ходовая система

Схема запчастей Shantui SD13-130 - гусеница в сборе ходовая система
1
2
3
4
5
6
7
8
9
10
11
FIT
1:1
100%

Артикул

Название

Примечание

Количество

1

190MA-00146(Z)

башмак гусеницы

2

190MA-00063

болт

3

190MA-00061

гайка

4

190MH-00011

звено гусеницы левое

5

190MH-00021

звено гусеницы правое

6

190ML-00031

втулка

7

190ML-00051

уплотнительное кольцо

8

190MA-00041

цилиндрический штифт

9

190MA-00032

центральная втулка

10

190ML-00052

уплотнительное кольцо

11

190MA-00042

цилиндрический штифт

Выбрано товаров: 11