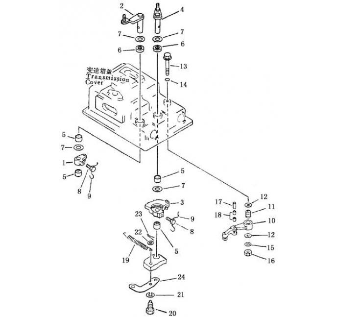
Запчасти Shantui SD16-160 рычаг переключения передач гидротрансформатор, трансмиссия и трубопровод

Схема запчастей Shantui SD16-160 - рычаг переключения передач гидротрансформатор, трансмиссия и трубопровод
1
2
3
4
5
6
7
8
9
10
11
12
13
14
15
16
17
18
19
20
21
22
23
24
FIT
1:1
100%

Артикул

Название

Примечание

Количество

1

144-15-25560

рычаг управления

2

144-15-25651

крепление

3

144-15-25632

веерообразное соединение

4

144-15-25742

шток

5

06120-02016

игольчатый подшипник

6

144-15-29110

уплотнение

7

144-15-25570

кольцо

8

125-15-11530

болт

9

04059-01010

стальной провод

10

144-15-25682

рычаг

11

144-15-25670

втулка

12

175-15-45660

шайба

13

175-15-45650

болт

14

07000-72008

O-образное кольцо

15

01602-21030

Шайба 10

16

01580-01008

гайкаМ10

17

144-15-25690

палец

18

144-15-29120

подшипник

19

144-15-25710

пружина

20

144-15-25592

болт

21

01602-21442

Шайба 14

22

01641-21016

Шайба 10

23

04050-12018

шплинт

24

144-15-25820

пластина

Выбрано товаров: 24