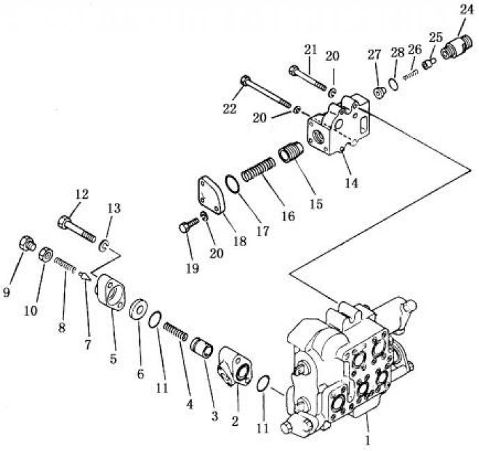
Запчасти Shantui SD16-160 клапан управления отвалом в сборе система управления рабочим оборудованием

Схема запчастей Shantui SD16-160 - клапан управления отвалом в сборе система управления рабочим оборудованием
1
2
3
4
5
6
7
8
9
10
12
13
14
15
16
17
18
19
20
21
22
23
24
25
26
27
28
29
30
FIT
1:1
100%

Артикул

Название

Примечание

Количество

1

(701-33-12006)

регулирующий клапан в сборе

2

16Y-60-05000

клапан отвала

3

701-30-51002

блок перепускного клапана

4

701-30-51111

корпус клапана

5

701-30-51120

клапан

6

701-30-51130

пружина

7

701-30-51140

посадка

8

701-30-51151

седло клапана

9

701-30-51160

тарельчатый клапан

10

701-30-51171

пружина

11

701-10-51160

резьбовая заглушка

12

701-30-51190

гайка

13

07000-13025

O-образное кольцо

14

01011-51405

Болт М14 * 105

15

20D-14-11510

шайба

16

701-30-62002

блок клапанов последовательного соединения

17

701-30-62411

корпус клапанов последовательного соединения

18

701-30-61120

клапан

19

701-30-61130

пружина

20

07000-13048

O-образное кольцо

21

701-30-62130

пластина

22

01010-51240

Болт М12 * 40

23

01602-21236

Шайба 12

24

01010-51260

Болт М12 * 60

25

01011-51210

Болт М12 * 110

26

701-30-65111

корпус клапана

27

701-13-31120

клапан

28

701-30-65131

пружина

29

701-30-65123

посадка

30

07002-13034

O-образное кольцо

Выбрано товаров: 30