Качественные детали и логистика
Оригинальные и аналоговые запчасти с доставкой по России, Казахстану и Беларуси
©2022 PartSell ООО "Система" ИНН 2463123282 ОГРН 1212400004838
Центральный офис: г. Красноярск, Академика Киренского, д.87, пом.4
Телефон: 8 (800) 777-65-74 Email: zakaz@partsell.ru
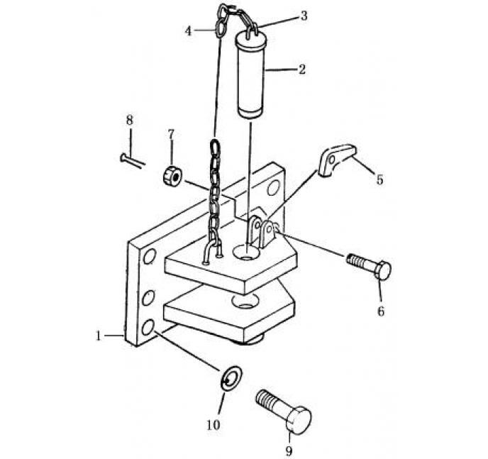
буксирный прибор
№
Артикул
Название
Примечание
Количество
1
16Y-32-10000
тяговая рама
2
09247-45180
палец с коронной головкой
3
16Y-32-00001
кольцо
4
09245-14830
звено
5
158-32-02002
шнейлер
6
01052-51260
Болт М12 * 1,5 * 60
7
01592-11215
Гайка М12 * 1,5
8
04050-03026
шплинт
9
01010-52465
Болт М24 * 65
10
01602-22472
Шайба 24
Выбрано товаров: 0