Качественные детали и логистика
Оригинальные и аналоговые запчасти с доставкой по России, Казахстану и Беларуси
©2022 PartSell ООО "Система" ИНН 2463123282 ОГРН 1212400004838
Центральный офис: г. Красноярск, Академика Киренского, д.87, пом.4
Телефон: 8 (800) 777-65-74 Email: zakaz@partsell.ru
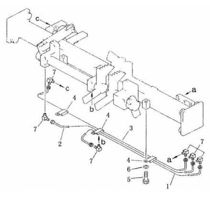
система централизованной смазки и автоматического натяжения гусениц
№
Артикул
Название
Примечание
Количество
1
154-43-41410
трубка
2
154-43-41420
3
154-43-41430
4
209-38-12260
зажим
5
01010-51220
Болт М12 * 20
6
01643-31232
Шайба 12
7
176-43-41350
штуцер
Выбрано товаров: 0