Запчасти Shantui SD22-220 клапан трансмиссии гидротрансформатор, трансмиссия и трубопровод

Схема запчастей Shantui SD22-220 - клапан трансмиссии гидротрансформатор, трансмиссия и трубопровод
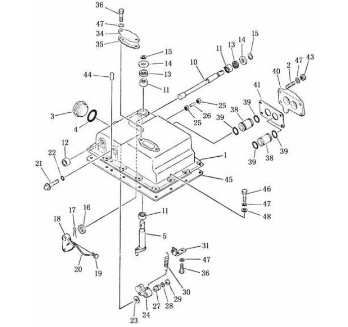
1
2
3
4
5
6
7
8
9
10
11
12
13
14
15
16
17
18
19
20
21
22
23
24
25
28
29
30
31
32
33
34
35
36
37
38
FIT
1:1
100%

Артикул

Название

Примечание

Количество

1

175-15-45510

крышка

2

01124-51025

шпилька

3

07040-15223

резьбовая заглушка

4

07002-15234

O-образное кольцо

5

175-15-45560

рычаг

6

175-15-45610

вал

7

gb290-hk2016

игольчатый роликоподшипник со штампованным наружным кольцом

8

gb290-bk2016

игольчатый роликоподшипник со штампованным наружным кольцом

9

144-15-29110

уплотнение

10

175-15-45570

шайба

11

175-15-45580

12

175-15-45620

упорное кольцо

13

04050-03040

шплинт

14

175-15-45630

рычаг

15

125-15-11530

болт

16

04059-11010

стальной провод

17

175-15-45650

болт

18

07002-11223

O-образное кольцо

19

175-15-45660

шайба

20

175-15-45690

рычаг

21

144-15-29120

подшипник

22

144-15-25690

палец

23

175-15-45670

муфта

24

175-15-45710

пружина

25

175-15-45780

кронштейн

26

175-15-45750

пластина

27

175-15-45760

подкладка

28

01010-51020

Болт М10 * 20

29

175-15-45550

ниппель

30

07000-73028

O-образное кольцо

31

175-15-45530

крышка

32

175-15-45540

подкладка

33

01580-11008

гайка М10

34

04020-00820

цилиндрический штифт

35

175-15-45520

подкладка

36

01010-51025

Болт М10 * 25

37

01602-21030

Шайба 10

38

01640-21016

Шайба 10

Выбрано товаров: 38