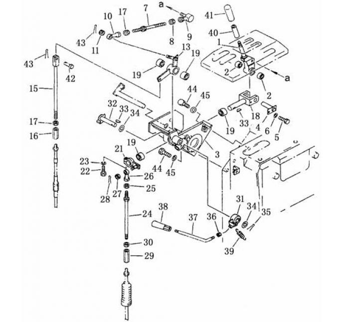
Запчасти Shantui SD22-220 рычаг регулирования скорости гидротрансформатор, трансмиссия и трубопровод

Схема запчастей Shantui SD22-220 - рычаг регулирования скорости гидротрансформатор, трансмиссия и трубопровод
1
2
3
4
5
6
7
8
9
10
11
12
13
14
15
16
17
18
19
20
21
22
23
24
25
26
27
28
29
30
31
32
33
34
35
36
37
38
39
40
41
42
FIT
1:1
100%

Артикул

Название

Примечание

Количество

1

195-43-43150

коромысло

2

195-61-34120

подшипник

3

154-43-43130

опора

4

195-43-43170

палец

5

01010-50616

Болт М6 * 16

6

01643-30623

Шайба 6

7

113-43-11530

шкиф

8

01580-10806

гайка M8

9

04256-40816

шаровой шарнир

10

04250-90847

шарнирный подшипник

11

01590-30809

гайка M8

12

154-43-43150

балансир

13

195-43-41580

рычаг

14

144-43-51130

соединитель

15

01508-40805

гайка M8

16

154-43-43210

вилка

17

195-43-43190

подшипник

18

154-43-43220

крепление

19

01010-50830

болт M8 * 30

20

01602-20825

Шайба 8

21

04248-31028

рычаг

22

01582-11008

Гайка М10 * 1,25

23

04250-81056

шарнирный подшипник

24

01593-31008

Гайка М10 * 1,25

25

04050-12018

шплинт

26

178-43-12180

регулировочный винт

27

01508-41006

Гайка М10 * 1,25

28

195-43-43241

коромысло

29

154-43-43260

палец

30

04010-00519

сегментная шпонка

31

01640-21626

Шайба 16

32

04050-14026

шплинт

33

195-43-43370

гайка

34

195-43-43360

рычаг

35

09305-00800

рукоятка

36

195-43-43260

пружина

37

09361-01460

втулка

38

09304-01240

рукоятка

39

04205-10822

цилиндрический штифт

40

04050-12016

шплинт

41

01010-51225

Болт М12 * 25

42

01643-31232

Шайба 12

Выбрано товаров: 42