Запчасти Shantui SD22-220 шатун регулирования скорости (2/3) гидротрансформатор, трансмиссия и трубопровод

Схема запчастей Shantui SD22-220 - шатун регулирования скорости (2/3) гидротрансформатор, трансмиссия и трубопровод
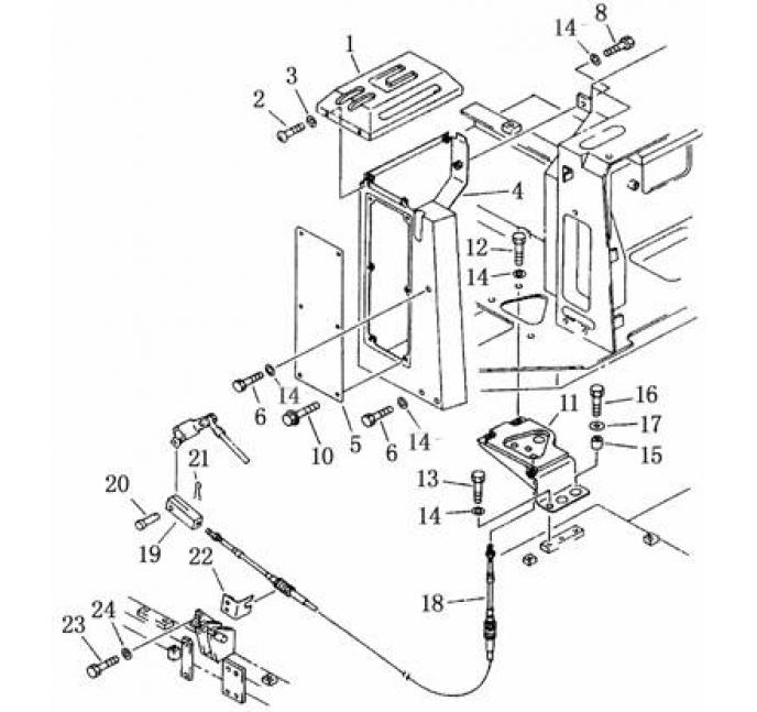
1
2
3
4
5
6
7
8
9
10
11
12
13
14
15
16
17
18
19
20
21
22
FIT
1:1
100%

Артикул

Название

Примечание

Количество

1

154-43-43110

защитная крышка

2

01220-40816

болт M8 * 16

3

01643-30823

Шайба 8

4

154-43-43310

корпус

5

154-43-43270

пластина

6

01010-51290

Болт М12 * 90

7

01010-51225

Болт М12 * 25

8

195-54-26220

болт

9

154-43-43140

опора

10

01010-51230

Болт М12 * 30

11

01010-51220

Болт М12 * 20

12

01643-31232

Шайба 12

13

175-61-14490

распорная втулка

14

01010-51240

Болт М12 * 40

15

175-54-34170

шайба

16

154-43-43160

вал

17

04211-20844

вильчатая пластина

18

04205-10822

цилиндрический штифт

19

04050-12016

шплинт

20

154-43-41270

пластина

21

01010-51030

Болт М10 * 30

22

01643-31032

Шайба 10

Выбрано товаров: 22