Запчасти Shantui SD22-220 масляный фильтр тонкой очистки коробка рулевого механизма и конечная передача

Схема запчастей Shantui SD22-220 - масляный фильтр тонкой очистки коробка рулевого механизма и конечная передача
2
3
4
5
6
7
8
9
10
11
12
13
14
15
16
17
18
FIT
1:1
100%

Артикул

Название

Примечание

Количество

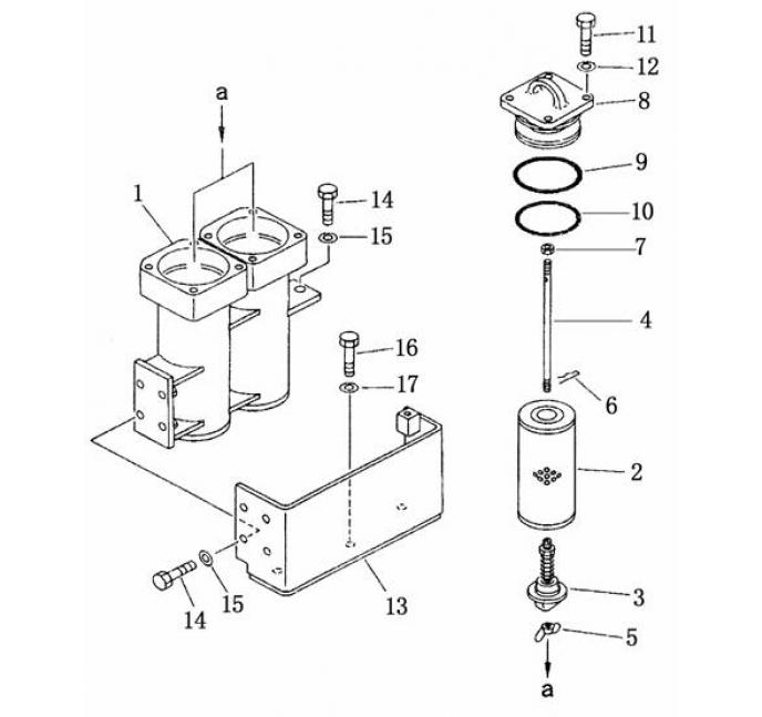
1

154-49-51301

фильтр тонкой очистки топлива

2

154-49-51311

корпус фильтра

3

175-49-11580

сетчатый фильтр

4

175-49-25530

клапан

5

175-49-25540

рычаг

6

01540-21050

гайка барашковая

7

04052-11038

пружинный штифт

8

01582-01008

Гайка М10 * 1,25

9

154-49-52130

крышка

10

07000-12115

O-образное кольцо

11

07000-12110

O-образное кольцо

12

01010-51640

Болт М16 * 40

13

01643-51645

Шайба 16

14

154-49-51320

защитная пластина

15

01010-51230

Болт М12 * 30

16

01643-31232

Шайба 12

17

01010-51635

Болт М16 * 35

18

01643-31645

Шайба 16

Выбрано товаров: 18