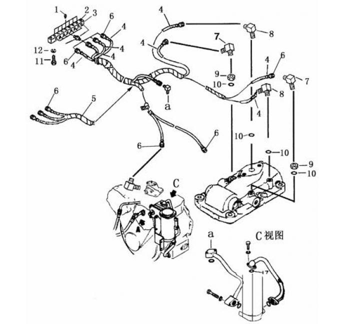
Запчасти Shantui SD22-220 центральный трубопровод измерения давления коробка рулевого механизма и конечная передача

Схема запчастей Shantui SD22-220 - центральный трубопровод измерения давления коробка рулевого механизма и конечная передача
10
12
FIT
1:1
100%

Артикул

Название

Примечание

Количество

1

07042-20108

резьбовая заглушка R1 / 8

2

16Y-76B-00001

место измерения давления

3

10Y-76B-00002

пластина

4

17Y-74B-01000

шланг

5

17Y-74B-02000

шланг

6

17Y-74B-00001

штуцер

7

17Y-74B-00002

штуцер

8

23Y-75B-00001

штуцер

9

01580-10806

гайка M8

10

04418-02550

заклепка

11

07002-10823

O-образное кольцо

12

16Y-76B-00002

пластина

13

01010-51245

Болт М12 * 45

14

01643-31232

Шайба 12

Выбрано товаров: 14